授权公布号:CN111672440B
一种搅拌装置及结晶反应釜
有效
申请
2020-06-29
申请公布
2020-09-18
授权
2022-02-22
预估到期
2040-06-29
| 申请号 | CN202010607796.2 |
| 申请日 | 2020-06-29 |
| 申请公布号 | CN111672440A |
| 申请公布日 | 2020-09-18 |
| 授权公布号 | CN111672440B |
| 授权公告日 | 2022-02-22 |
| 分类号 | B01J19/00;B01J19/18;B01D9/02;B01F35/32;B01F27/17;B01F27/906 |
| 分类 | 一般的物理或化学的方法或装置; |
| 申请人名称 | 河北诺达化工设备有限公司 |
| 申请人地址 | 河北省石家庄市高新技术开发区太行南大街759号付1号201室 |
专利法律状态
2022-02-22
授权
状态信息
授权
2020-09-18
公布
状态信息
公布
摘要
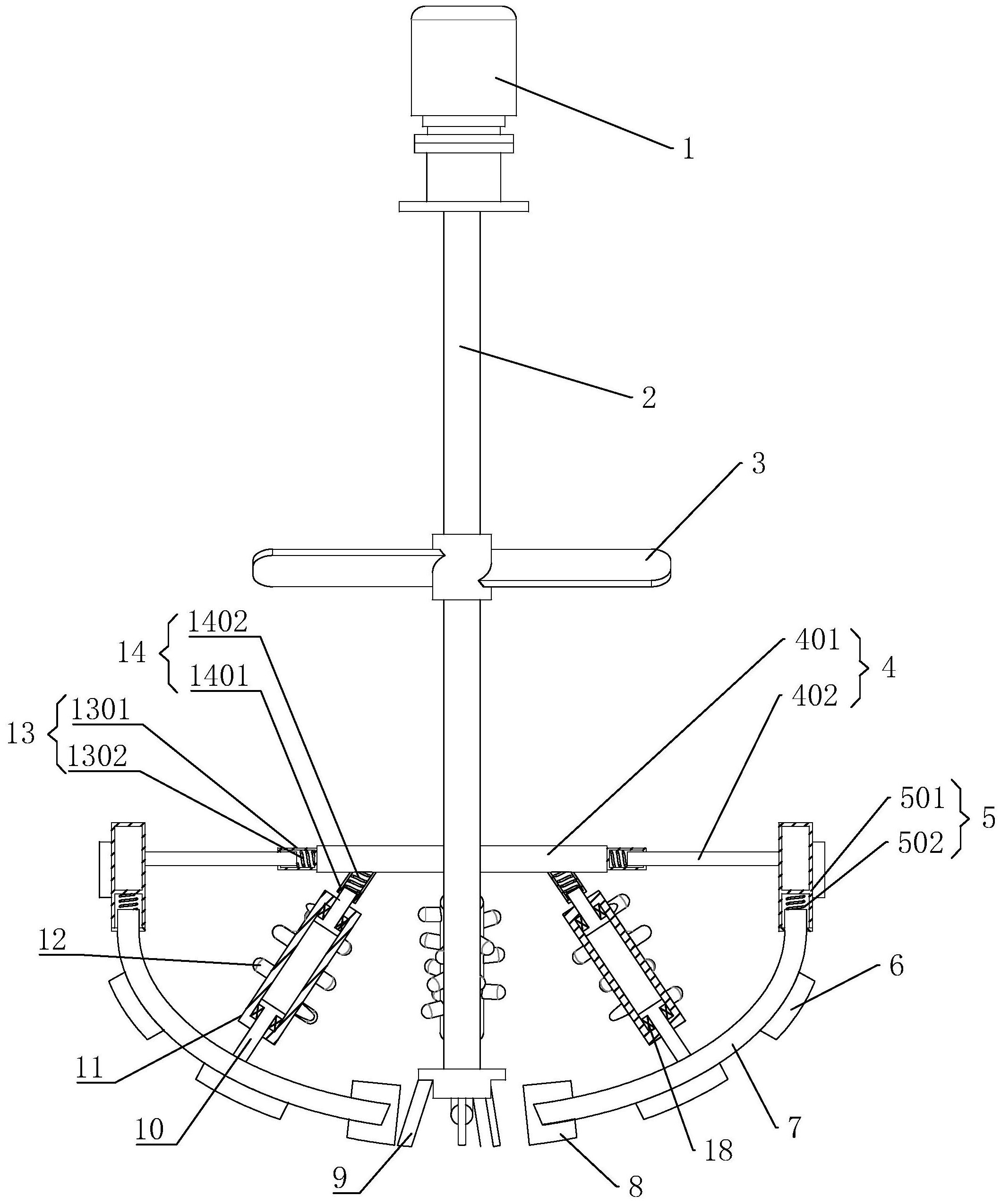
本发明涉及一种搅拌装置及结晶反应釜,涉及有结晶产生的结晶类反应釜技术领域,搅拌装置包括第一搅拌臂、第一连接臂以及第二连接臂;第一搅拌臂设有若干个且沿搅拌轴的周向间隔均布,第一搅拌臂位于罐底内壁内侧且位于罐底的回转轴线的一侧,并且沿罐底的母线设置,第一搅拌臂与母线的曲率适配;第一连接臂一端与搅拌轴固定连接,另一端与第一搅拌臂连接;第一连接臂与第一搅拌臂通过第二连接臂连接;第二搅拌臂设有若干,固定位于第一搅拌臂的上方,若干第二搅拌臂沿搅拌轴的周向间隔均布;结晶类反应釜包括上述搅拌装置。本发明能够解决现有技术中存在的搅拌不均匀且物料反应混合时间长的技术问题,达到物料混合均匀且缩短生产周期的效果。


