授权公布号:CN214038763U
一种嵌入式新风机
有效
申请
2020-10-23
申请公布
1970-01-01
授权
2021-08-24
预估到期
2030-10-23
| 申请号 | CN202022382184.6 |
| 申请日 | 2020-10-23 |
| 授权公布号 | CN214038763U |
| 授权公告日 | 2021-08-24 |
| 分类号 | F24F7/003;F24F7/007;F24F13/20;F24F13/32 |
| 分类 | 供热;炉灶;通风; |
| 申请人名称 | 卡洛尼环境技术(中山)有限公司 |
| 申请人地址 | 广东省中山市三角镇金三大道东8号民森信息科技产业园大楼D区六楼1卡 |
专利法律状态
2021-08-24
授权
状态信息
授权
摘要
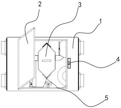
本实用新型公开了一种嵌入式新风机,包括机体,所述的机体的一侧中部设置有开口,所述的开口的边缘设置有延伸框,所述的延伸框的一侧转动连接设置有门板,所述的开口的一侧设置有与门板相对应的锁扣。本实用新型结构简单,采用嵌入安装在天花板内,设置有可开启的门板,方便维修。


