授权公布号:CN213185428U
一种内置三导热片式密集型母线槽
有效
申请
2020-09-25
申请公布
1970-01-01
授权
2021-05-11
预估到期
2030-09-25
| 申请号 | CN202022130719.0 |
| 申请日 | 2020-09-25 |
| 授权公布号 | CN213185428U |
| 授权公告日 | 2021-05-11 |
| 分类号 | H02G5/06;H02G5/10 |
| 分类 | 发电、变电或配电; |
| 申请人名称 | 青岛东山集团母线智造有限公司 |
| 申请人地址 | 山东省青岛市城阳区夏庄街道夏塔路336号 |
专利法律状态
2021-05-11
授权
状态信息
授权
摘要
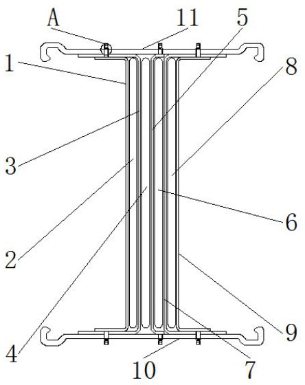
本实用新型公开了一种内置三导热片式密集型母线槽,包括左侧板和限位槽,所述左侧板一侧连接有第一母线;所述第一母线另一侧连接有第一导热片,所述第一导热片另一侧连接有第二母线,所述第二母线另一侧连接有第二导热片,所述第二导热片另一侧连接有第三母线,所述第三母线另一侧连接有第三导热片。该内置三导热片式密集型母线槽设置有左侧板、第一导热片、第二导热片、第三导热片与右侧板可以分别将第一母线、第三母线与第四母线进行夹合,左侧板、第一导热片、第二导热片、第三导热片与右侧板可以通过自身铝材的导热性能强的效果对第一母线、第三母线与第四母线进行导热,方便有效降低母线运行时的温升,提高母线槽的载流能力。


