授权公布号:CN220291611U
一种稳定型低能耗高载流母线槽
有效
申请
2023-07-13
申请公布
1970-01-01
授权
2024-01-02
预估到期
2033-07-13
| 申请号 | CN202321840279.5 |
| 申请日 | 2023-07-13 |
| 授权公布号 | CN220291611U |
| 授权公告日 | 2024-01-02 |
| 分类号 | H02G5/06 |
| 分类 | 发电、变电或配电; |
| 申请人名称 | 西朗电气工业集团有限公司 |
| 申请人地址 | 山东省青岛市城阳区裕园三路13号 |
专利法律状态
2024-01-02
授权
状态信息
授权
摘要
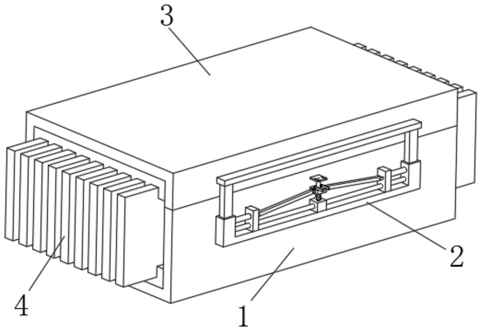
本实用新型涉及母线槽技术领域,且公开了一种稳定型低能耗高载流母线槽,解决了目前不便对母线槽进行拆装的问题,其包括外壳,所述外壳的顶部设有盖板,外壳与盖板之间安装有固定机构,外壳的内部对称固定安装有两个支撑板,盖板的内部对称固定安装有两个限位板,支撑板与限位板之间等距离设有母排,固定机构包括对称固定于外壳外侧的两个U型板,盖板的外侧对称固定安装有两个安装板;本实用新型,通过立柱和滑块以及弹簧之间的配合,便于滑块沿着立柱移动,并通过驱动杆和导向板以及导向杆之间的配合,便于两个插杆移动,继而能够使得两个插杆分别插入两个插孔内或分别与两个插孔分离,从而便于盖板的拆装。


