授权公布号:CN218874521U
一种多功能铜排加工设备
有效
申请
2022-11-15
申请公布
1970-01-01
授权
2023-04-18
预估到期
2032-11-15
| 申请号 | CN202223038117.8 |
| 申请日 | 2022-11-15 |
| 授权公布号 | CN218874521U |
| 授权公告日 | 2023-04-18 |
| 分类号 | B23Q3/06;B23Q11/10;B23Q11/08 |
| 分类 | 机床;不包含在其他类目中的金属加工; |
| 申请人名称 | 西朗电气工业集团有限公司 |
| 申请人地址 | 山东省青岛市城阳区棘洪滩街道裕园三路13号 |
专利法律状态
2023-04-18
授权
状态信息
授权
摘要
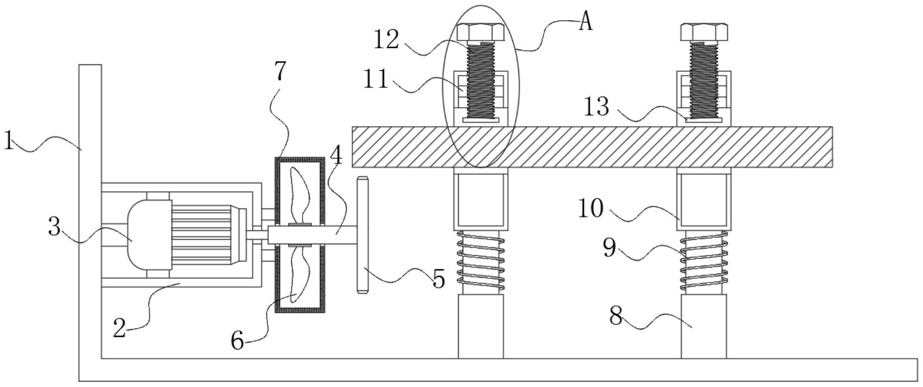
本实用新型公开了一种多功能铜排加工设备,包括工装底座,所述工装底座的内壁固定连接罩壳,所述罩壳的内壁通过连接块固定设置有电机,所述电机的输出轴的一端固定设置有传动轴,所述传动轴远离电机的一端内滚到设置有切割轮。本实用新型通过设置有工装底座,在工装底座的内壁设置有电机,当需要对铜排切割时,启动电机,使得电机带动传动轴,传动轴带动切割轮对铜排进行基本的切割,现有的铜排加工往往需要用到切割,铜排需要切割的地方放在切割轮的顶部,当电机带动切割轮转动的时候,向下整体的挤压夹持管,使得夹持管带动铜排挤压伸缩杆,使得铜排与切割轮无限的靠近完成切割,不需要人工扶持着铜排,操作简单,切割方便。


