授权公布号:CN220560795U
一种用于罐体焊接的连接辅助装置
有效
申请
2023-08-11
申请公布
1970-01-01
授权
2024-03-08
预估到期
2033-08-11
| 申请号 | CN202322155358.9 |
| 申请日 | 2023-08-11 |
| 授权公布号 | CN220560795U |
| 授权公告日 | 2024-03-08 |
| 分类号 | B23K37/04 |
| 分类 | 机床;不包含在其他类目中的金属加工; |
| 申请人名称 | 程力汽车集团股份有限公司 |
| 申请人地址 | 湖北省随州市曾都经济开发区 |
专利法律状态
2024-03-08
授权
状态信息
授权
摘要
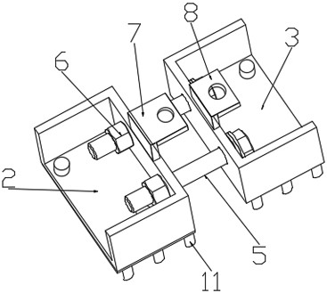
本实用新型公开了一种用于罐体焊接的连接辅助装置,包括罐体,对焊的罐体端口外侧分别连接有连接座一和连接座二,连接座一和连接座二相对的端部设置有通孔,连接座一和连接座二之间通过螺栓一和螺母一连接,连接座一的上端设置有连接板一,连接座二的对应连接板一的上端设置有连接板二,连接板一和连接板二均通过螺栓二和螺母二连接。有益效果:通过螺栓一和螺栓二进行横向和纵向的连接,连接板一与连接板二将罐体与罐体的平直度或同心圆度偏移影响降到最低,形成了连接座一和连接座二对罐体定位连接,使罐体焊接连接的更牢固,且连接简单,方便操作,保证了焊接过程中罐身与罐盖之间的焊接强度和准确度。


