授权公布号:CN213299069U
一种用于抗震支吊架系统的新型管束
有效
申请
2020-09-17
申请公布
1970-01-01
授权
2021-05-28
预估到期
2030-09-17
| 申请号 | CN202022045841.8 |
| 申请日 | 2020-09-17 |
| 授权公布号 | CN213299069U |
| 授权公告日 | 2021-05-28 |
| 分类号 | F16L3/11;F16L55/035 |
| 分类 | 工程元件或部件;为产生和保持机器或设备的有效运行的一般措施;一般绝热; |
| 申请人名称 | 深圳市固耐达科技有限公司 |
| 申请人地址 | 广东省深圳市福田区福田街道福安社区民田路171号新华保险大厦5层T09 |
专利法律状态
2021-05-28
授权
状态信息
授权
摘要
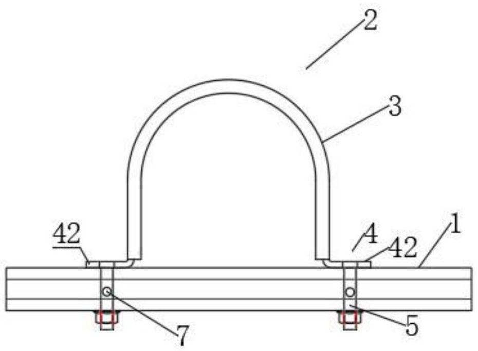
本实用新型涉及建筑‑机电抗震设备技术领域,尤其涉及一种用于抗震支吊架系统的新型管束。一种用于抗震支吊架系统的新型管束,包括安装本体,所述的安装本体上设置有管束部,所述的管束部包括管束本体,管束本体连接有固定单元,所述的固定单元包括固定板,所述的固定板上设置有至少两根插装杆;所述的安装本体上设置有若干固定孔,插装杆通过固定孔安装固定板。这样设置,使得本装置在安装时仅需要将管束和需要固定的水管套装在一起,然后固定板上的插装杆通过固定孔穿过安装本体,然后通过螺母拧紧就可以达到原欧姆型管束所起到的效果。这样设置既节约了时间,降低了安装的难度并且使得极限荷载数值提高了。


