授权公布号:CN217842260U
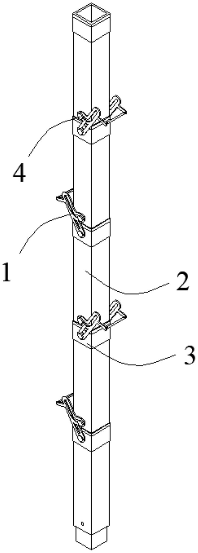
连接组件、组合式插接件
有效
申请
2022-01-26
申请公布
1970-01-01
授权
2022-11-18
预估到期
2032-01-26
| 申请号 | CN202220217333.X |
| 申请日 | 2022-01-26 |
| 授权公布号 | CN217842260U |
| 授权公告日 | 2022-11-18 |
| 分类号 | F16B7/08;F16B7/20 |
| 分类 | 工程元件或部件;为产生和保持机器或设备的有效运行的一般措施;一般绝热; |
| 申请人名称 | 威海光威复合材料股份有限公司 |
| 申请人地址 | 山东省威海市高区天津路-130号 |
专利法律状态
2022-11-18
授权
状态信息
授权
摘要
本实用新型公开了连接组件、组合式插接件,包括:至少一个连接件,每个所述连接件包括第一支臂,所述第一支臂上分别延伸形成有第二支臂和第三支臂,所述第一支臂上设有第一连接槽,所述第二支臂上设有第二连接槽,所述第一连接槽和第二连接槽相连通并形成滑槽,所述第一支臂上设有定位孔。还包括设于管组件上的连接部:所述连接部包括连接组件和限位件,所述连接组件通过限位件连接于管组件上。本实用新型的连接组件、组合式插接件,重量轻且具有优异的结构性能,可在工作状态和折叠状态间转换,组装便捷,运输成本低。


