授权公布号:CN213560783U
一种角钢骨架焊接夹紧装置
有效
申请
2020-10-21
申请公布
1970-01-01
授权
2021-06-29
预估到期
2030-10-21
| 申请号 | CN202022354004.3 |
| 申请日 | 2020-10-21 |
| 授权公布号 | CN213560783U |
| 授权公告日 | 2021-06-29 |
| 分类号 | B23K37/04 |
| 分类 | 机床;不包含在其他类目中的金属加工; |
| 申请人名称 | 武汉长江加固技术有限公司 |
| 申请人地址 | 湖北省武汉市洪山区珞狮北路工农湾樱花大厦A座16层 |
专利法律状态
2021-06-29
授权
状态信息
授权
摘要
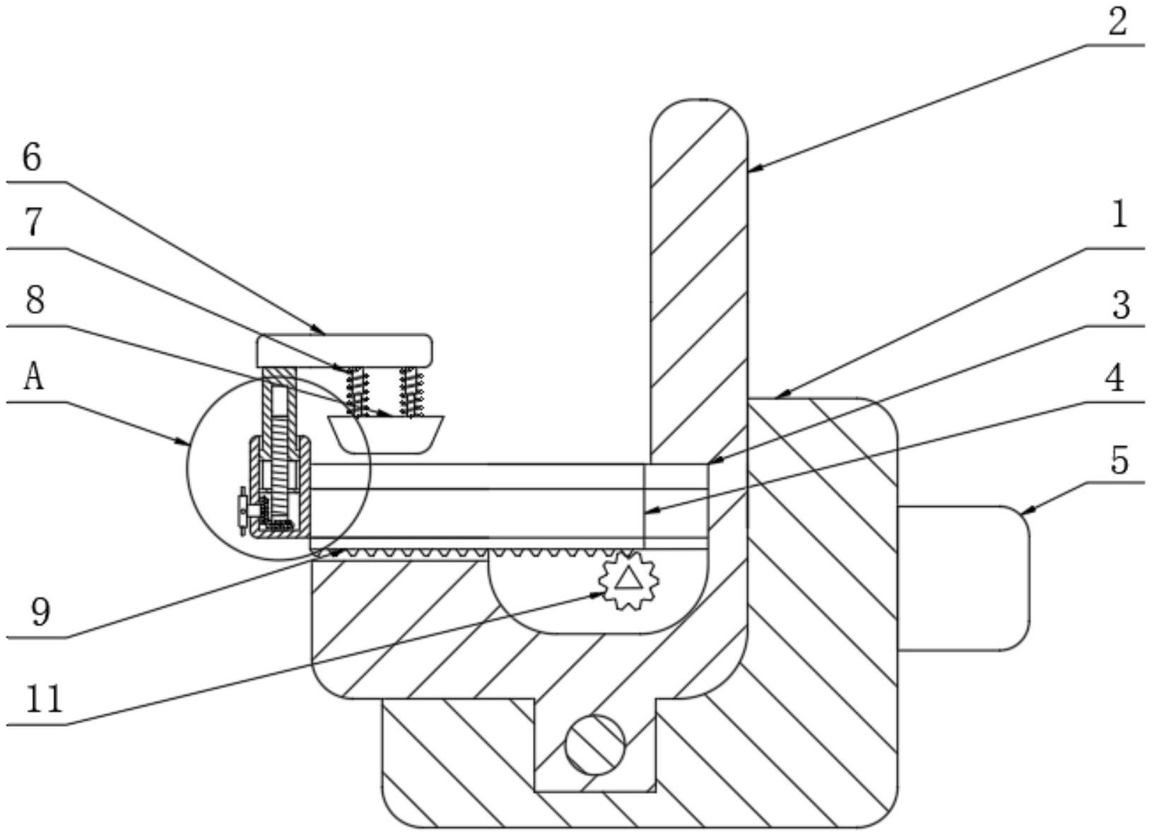
本实用新型公开了一种角钢骨架焊接夹紧装置,具体涉及焊接夹持技术领域,包括支撑底座,所述支撑底座顶部两侧均设有夹持底座,所述夹持底座一侧均设有滑块,所述滑块底部固定设有齿条,所述滑块一侧设有夹持机构,所述支撑底座一侧设有传动机构和调节机构,所述夹持机构包括连接壳,所述连接壳与滑块固定连接,所述连接壳一侧设有支撑杆,所述支撑杆延伸入连接壳内部,所述支撑杆一侧固定设有支撑块,所述支撑块一侧固定设有弹簧伸缩杆,本实用新型结构简单、使用方便,可将角钢夹持更加稳定,避免角钢骨架焊接存在较大缝隙,导致焊接不够平整,提高焊接工作效率,同时可夹持多种大小的角钢。


