授权公布号:CN214617155U
一种超高快递柜的通风系统
有效
申请
2021-04-08
申请公布
1970-01-01
授权
2021-11-05
预估到期
2031-04-08
| 申请号 | CN202120715377.0 |
| 申请日 | 2021-04-08 |
| 授权公布号 | CN214617155U |
| 授权公告日 | 2021-11-05 |
| 分类号 | F04D25/08;B01D46/10;B01D53/26;A47B81/00;A47B97/00 |
| 分类 | 液体变容式机械;液体泵或弹性流体泵; |
| 申请人名称 | 上海蜜罐信息科技有限公司 |
| 申请人地址 | 上海市青浦区华新镇凤星路1588号2幢2层B区202室 |
专利法律状态
2021-11-05
授权
状态信息
授权
摘要
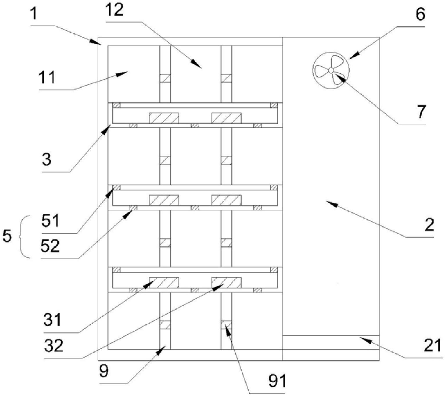
本实用新型涉及一种超高快递柜的通风系统,所述超高快递柜包括高度不低于2米的储物柜及传送柜,所述储物柜设有多层储物层,每层所述储物层均与所述传送柜连通,相邻所述储物层通过中空的层板分隔,所述储物柜背面设有连通所述层板内腔与所述储物柜外部的第一通风口,所述层板上设有连通相邻所述储物层的通风结构,所述第一通风口通过所述层板的内腔连通所述通风结构,所述传送柜背面顶部还设有连通所述传送柜内外的第二通风口,且在所述第二通风口处设有排风扇。本实用新型能够确保储物柜内每层储物层的通风效果,能够有效防止气口被层板上的快递货物堵塞,在保障通风的同时还能够确保超高快递柜内流动空气的清洁、干燥。


