授权公布号:CN217933499U
联排框及开关插座设备
有效
申请
2022-06-10
申请公布
1970-01-01
授权
2022-11-29
预估到期
2032-06-10
| 申请号 | CN202221459732.3 |
| 申请日 | 2022-06-10 |
| 授权公布号 | CN217933499U |
| 授权公告日 | 2022-11-29 |
| 分类号 | H01H9/02;H01R13/514 |
| 分类 | 基本电气元件; |
| 申请人名称 | 上海美控智慧建筑有限公司 |
| 申请人地址 | 上海市虹口区塘沽路309号14层C室(集中登记地) |
专利法律状态
2022-11-29
授权
状态信息
授权
摘要
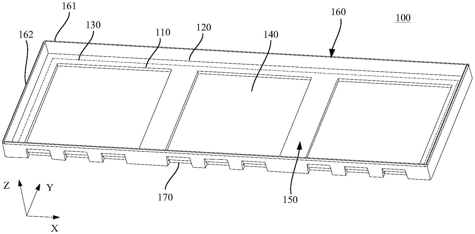
本实用新型公开一种联排框及开关插座设备,涉及家居设备技术领域,旨在解决现有的联排框适用范围小的技术问题。本实用新型的联排框包括相连接的内边框部和外边框部,内边框部具有相对的第一表面和第二表面。安装人员通过将待安装的设备本体排布放置在联排框的第二表面一侧,确定设备本体相对于联排框的位置,并在第一表面设置设备本体的定位标识;由于内边框部为透明边框,第一表面上的定位标识可透过第二表面而被观测,从而使得设备板体从第二表面可以被定位安装;本实用新型的联排框,根据待安装的设备本体确定定位标识而进行定位安装,在保证安装位置的同时,使得联排框可以兼容不同品牌的设备本体,从而扩宽联排框的应用范围。


