授权公布号:CN214725834U
一种高形变阻燃聚碳酸酯薄膜制备装置
有效
申请
2020-12-21
申请公布
1970-01-01
授权
2021-11-16
预估到期
2030-12-21
| 申请号 | CN202023100684.2 |
| 申请日 | 2020-12-21 |
| 授权公布号 | CN214725834U |
| 授权公告日 | 2021-11-16 |
| 分类号 | B29C43/32;B08B1/02;B08B5/04;B08B15/04;B29C43/24;B29K69/00N;B29L7/00N |
| 分类 | 塑料的加工;一般处于塑性状态物质的加工; |
| 申请人名称 | 苏州奥美材料科技有限公司 |
| 申请人地址 | 江苏省苏州市高新区华山路158-30号 |
专利法律状态
2021-11-16
授权
状态信息
授权
摘要
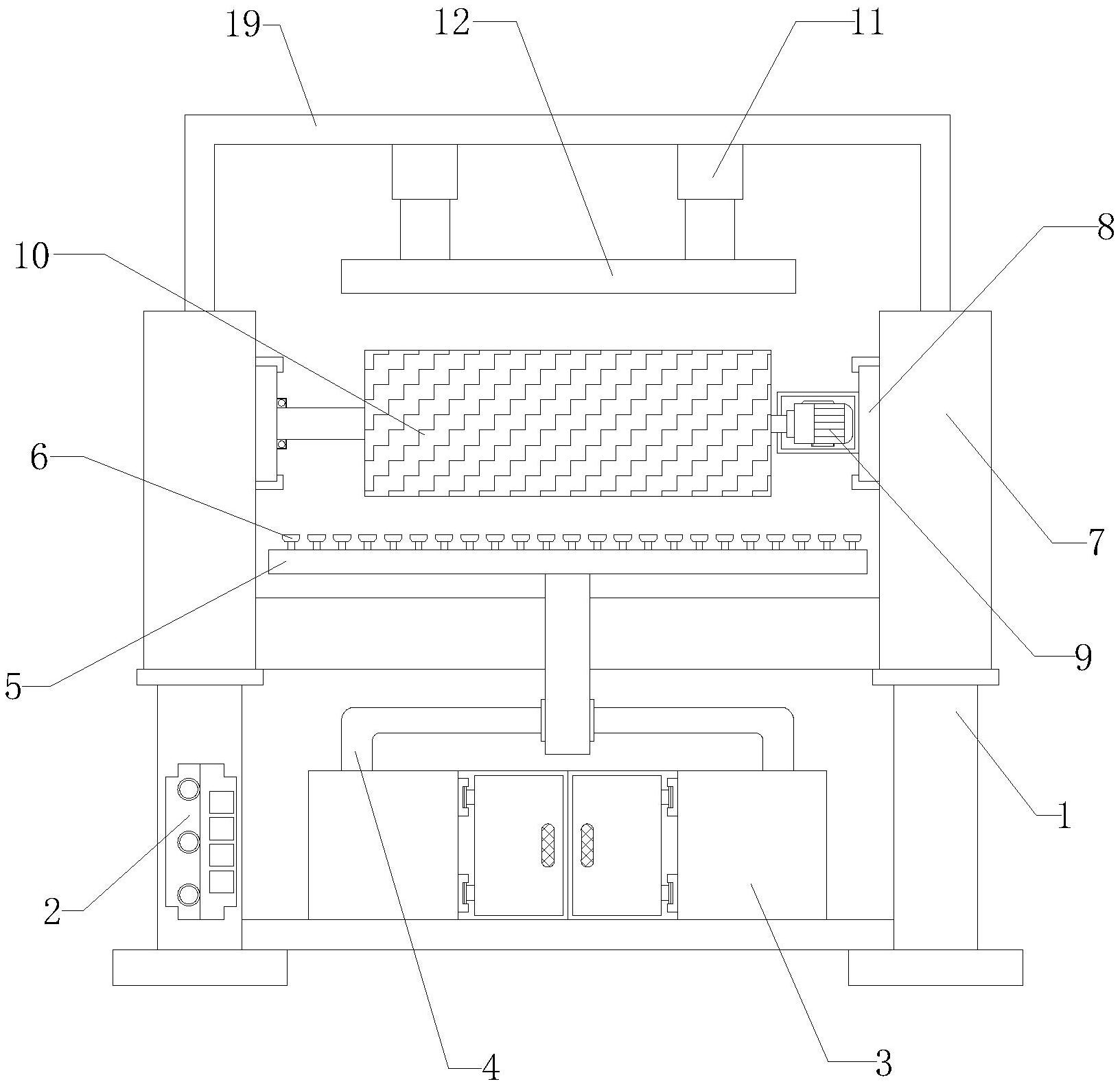
本实用新型公开了一种高形变阻燃聚碳酸酯薄膜制备装置,包括支架,所述支架一端均安装有控制器,所述支架顶部的中间位置安装有第一箱室,所述第一箱室内部一侧的两端均安装有风机。本实用新型,通过液压杆和刮料刀的设置,使得能够将压延机辊上的涂料刮的厚度均匀,提高生产的精度,通过第二箱室和连接板的设置,使得压延机辊能够便于更换,且在拆卸的过程中,还可以将压延机辊卡在夹持板上,再通过第一箱室、第一管道、第二管道和吸尘口的设置,使得在清理压延机辊上的残余涂料时,能够将清理下的涂料进行吸附储存,本装置通过以上零件的设置,能够掌控压延机辊上涂料的厚度,进一步的控制了生产的精度,提高了工作质量。


