授权公布号:CN214038261U
一种LED灯罩用防护外壳
有效
申请
2021-07-02
申请公布
1970-01-01
授权
2021-08-24
预估到期
2031-07-02
| 申请号 | CN202023175421.8 |
| 申请日 | 2021-07-02 |
| 授权公布号 | CN214038261U |
| 授权公告日 | 2021-08-24 |
| 分类号 | F21V15/02;F21V23/04;F21V3/06 |
| 分类 | 照明; |
| 申请人名称 | 佛山市达孚新材料有限公司 |
| 申请人地址 | 广东省佛山市南海区狮山镇罗村务庄小丰田工业园 |
专利法律状态
2021-08-24
授权
状态信息
授权
摘要
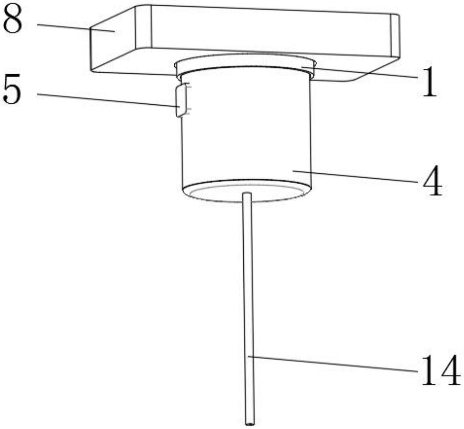
本实用新型提供一种LED灯罩用防护外壳,涉及灯罩技术领域,包括连接头,连接底面凹槽内螺纹连接有灯罩,灯罩采用聚碳酸酯材料挤出压延成型,灯罩表面固定有光感器,连接头底部螺栓连接有连接圆盘,连接圆盘底面螺纹连接有灯管,连接头顶面均螺栓连接有连接板,连接板顶面固定有拉动弹簧,灯罩底面固定有拉线,连接头顶面固定有正极装置,接头上方设有安装板,安装板底面设有限位槽,采用灯罩和拉动弹簧,实现了灯罩用聚碳酸酯材料,具有很好的电绝然性和尺寸稳定性,耐撞击不易脆,其耐温性好,阻燃性能和耐化学腐蚀性能优异,同时便于使用者将产品进行安装和拆卸,操作简单方便,可自动调整产品的亮度根据外部亮度变化。


