授权公布号:CN209651424U
一种提高片材堆垛平整度的工具
有效
申请
2019-01-29
申请公布
1970-01-01
授权
2019-11-19
预估到期
2029-01-29
| 申请号 | CN201920153412.7 |
| 申请日 | 2019-01-29 |
| 授权公布号 | CN209651424U |
| 授权公告日 | 2019-11-19 |
| 分类号 | B65G57/03 |
| 分类 | 输送;包装;贮存;搬运薄的或细丝状材料; |
| 申请人名称 | 佛山市达孚新材料有限公司 |
| 申请人地址 | 广东省佛山市南海区狮山镇罗村务庄小丰田工业园 |
专利法律状态
2019-11-19
授权
状态信息
授权
摘要
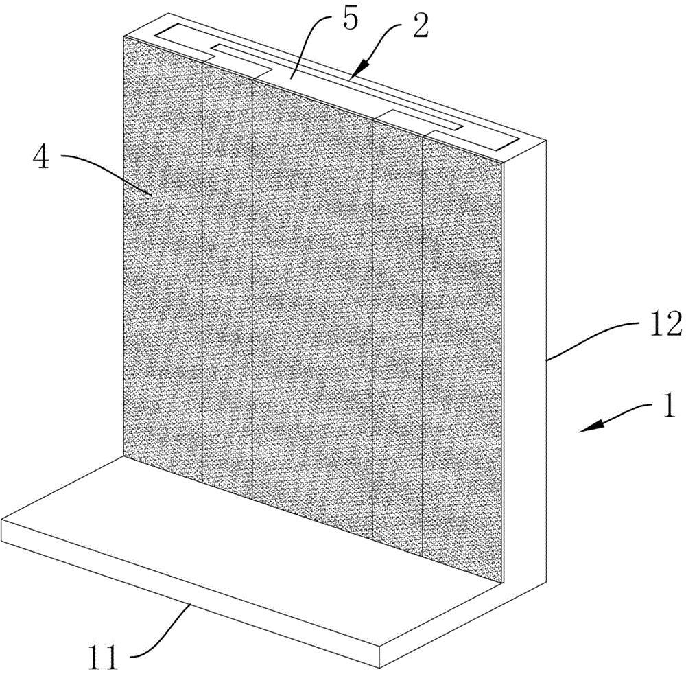
本实用新型涉及一种提高片材堆垛平整度的工具,其特点在于包括抵挡件、伸缩挡板、若干弹性摩擦组件,其中抵挡件包括水平板、竖向板,所述竖向板一表面上具有抵挡面,所述水平板布置在抵挡面外侧下方,并使水平板的一侧边与竖向板的底边相固定连接,所述抵挡面上开设有竖向导槽,并使竖向导槽延伸至竖向板的顶面上;所述伸缩挡板能竖向滑动嵌装在竖向导槽中,并使伸缩挡板的外表面与抵挡面处于同一平面内,各弹性摩擦组件设置在伸缩挡板外壁上,并使弹性摩擦组件作用于竖向导槽的槽壁上。本实用新型具有结构简单、可靠性高、实用性强等优点,且该工具有助于提高片材堆垛的效率。


