授权公布号:CN220521486U
一种组装式模块化厕所
有效
申请
2023-06-05
申请公布
1970-01-01
授权
2024-02-23
预估到期
2033-06-05
| 申请号 | CN202321410710.2 |
| 申请日 | 2023-06-05 |
| 授权公布号 | CN220521486U |
| 授权公告日 | 2024-02-23 |
| 分类号 | E03D7/00;E04B1/343 |
| 分类 | 给水;排水; |
| 申请人名称 | 四川旅发环保科技有限公司 |
| 申请人地址 | 四川省成都市中国(四川)自由贸易试验区成都高新区益州大道中段555号1栋1单元18楼1808号 |
专利法律状态
2024-02-23
授权
状态信息
授权
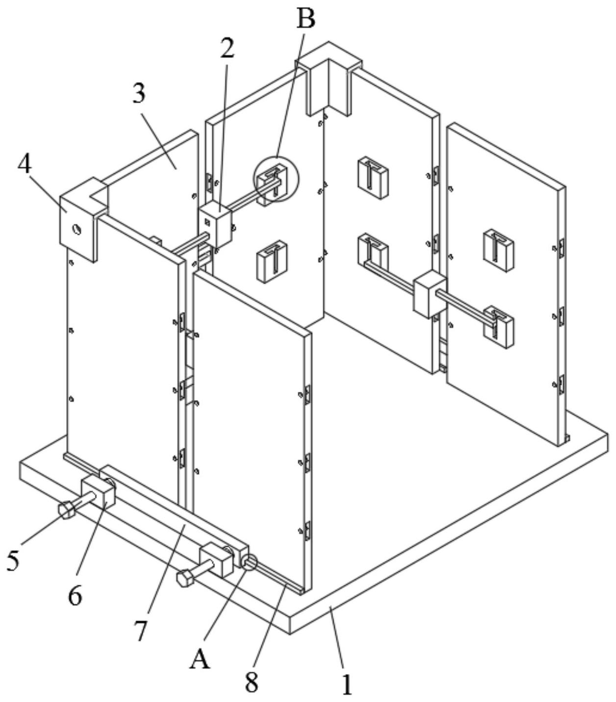
摘要
本实用新型公开了一种组装式模块化厕所,包括安装底板,安装底板顶部的一端设置有定位板,定位板上设置有定位槽,安装底板的两侧设置有调节机构;第二组墙板以及第三组墙板均通过连接件与第一组墙板连接;墙板包括安装墙板与锁紧机构;安装墙板的一侧设置有配合块,配合块上设置有配合槽;锁紧机构包括安装壳与拉杆;拉杆设置在安装壳的两侧,拉杆一端与安装壳活动连接,另一端卡接在配合槽内;两端的拉杆错位布置;拉杆靠近安装壳的一侧固接有齿条;安装壳内设置有蜗轮、蜗杆以及调节齿轮;其中,蜗轮与蜗杆均转动连接在安装壳内,蜗轮与蜗杆啮合;调节齿轮与蜗轮端部固接,调节齿轮同时与两侧的拉杆上的齿条啮合。通过这种设计能够保证拼接后的厕所的稳定性。


