授权公布号:CN103265118B
居民小区使用的生活污水生物集成处理设备
有效
申请
2009-07-20
申请公布
2013-08-28
授权
2014-04-23
预估到期
2029-07-20
| 申请号 | CN201310140065.1 |
| 申请日 | 2009-07-20 |
| 申请公布号 | CN103265118A |
| 申请公布日 | 2013-08-28 |
| 授权公布号 | CN103265118B |
| 授权公告日 | 2014-04-23 |
| 分类号 | C02F3/30 |
| 分类 | 水、废水、污水或污泥的处理; |
| 申请人名称 | 生态洁环保科技股份有限公司 |
| 申请人地址 | 山东省莱芜市赢牟西大街003号 |
专利法律状态
2014-04-23
授权
状态信息
授权
2013-09-25
实质审查的生效
状态信息
实质审查的生效IPC(主分类):C02F 3/30申请日:20090720
2013-08-28
公布
状态信息
公布
摘要
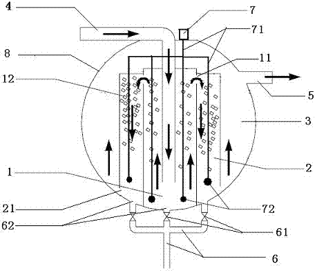
本发明涉及一种居民小区使用的生活污水生物集成处理设备,包括主体容器、污水进入导管、曝气机和排泥导管,充分利用该设备主体容器内部空间分隔出两个曝气反应室并分隔出澄清室,通过水流的流向将污水导入并依次经过曝气反应室和澄清室以进行处理。另外,本发明还优选该设备中曝气反应室中填有生物立方体载体,用以提高曝气反应室中生物降解的效率。


