授权公布号:CN101889834B
固液分离的生态厕所
有效
申请
2009-05-20
申请公布
2010-11-24
授权
2014-10-15
预估到期
2029-05-20
| 申请号 | CN200910142884.3 |
| 申请日 | 2009-05-20 |
| 申请公布号 | CN101889834A |
| 申请公布日 | 2010-11-24 |
| 授权公布号 | CN101889834B |
| 授权公告日 | 2014-10-15 |
| 分类号 | A47K11/02;C02F11/02 |
| 分类 | 家具;家庭用的物品或设备;咖啡磨;香料磨;一般吸尘器; |
| 申请人名称 | 生态洁环保科技股份有限公司 |
| 申请人地址 | 山东省莱芜市嬴牟西大街003号 |
专利法律状态
2014-10-15
授权
状态信息
授权
2012-06-27
实质审查的生效
状态信息
实质审查的生效IPC(主分类):A47K 11/02申请日:20090520
2010-11-24
公布
状态信息
公布
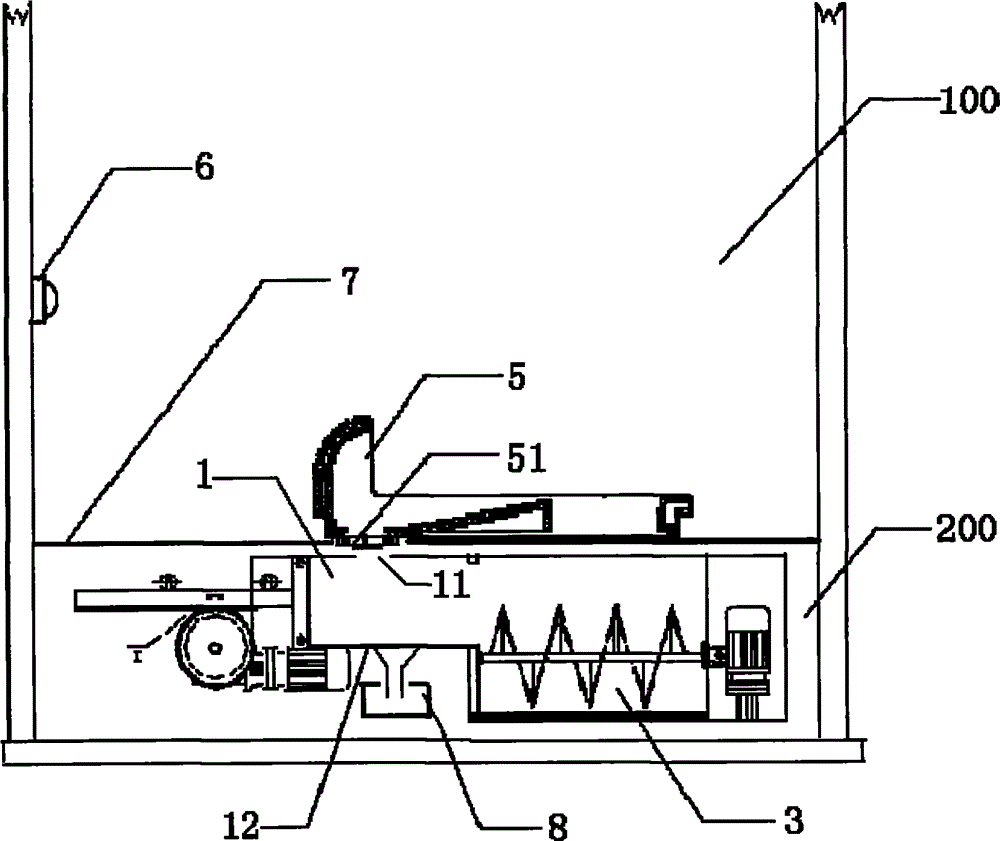
摘要
本发明涉及生态免冲水厕所,包括设于基面上的蹲便室和设于基面下的处理室,其中,蹲便室中安装有蹲便器,所述蹲便器安装在基面上面;而且,处理室内安装有粪尿处理设备,其中暂时贮粪容器上部带有开口,其与蹲便器底部的活动挡板相对应,暂时贮粪容器的底面正对开口的区域四周都设置有孔,暂时贮粪容器中的液体能通过孔流入位于暂时贮粪容器下面的贮液容器中。


