授权公布号:CN101092855B
磁力控制开启的锁
有效
申请
2006-06-19
申请公布
2007-12-26
授权
2011-06-08
预估到期
2026-06-19
| 申请号 | CN200610086927.7 |
| 申请日 | 2006-06-19 |
| 申请公布号 | CN101092855A |
| 申请公布日 | 2007-12-26 |
| 授权公布号 | CN101092855B |
| 授权公告日 | 2011-06-08 |
| 分类号 | E05B15/16;E05B19/26;E05C3/06 |
| 分类 | 锁;钥匙;门窗零件;保险箱; |
| 申请人名称 | 生态洁环保科技股份有限公司 |
| 申请人地址 | 山东省莱芜市嬴牟西大街003号 |
专利法律状态
2011-06-08
发明专利权授予
状态信息
授权
2010-11-10
专利申请权、专利权的转移
状态信息
专利申请权的转移;IPC(主分类):E05B 15/16;变更事项:申请人;变更前权利人:魏隆基;变更后权利人:山东生态洁环保科技股份有限公司;变更事项:地址;变更前权利人:271100 山东省莱芜市赢牟西大街003号金长城公司;变更后权利人:271100 山东省莱芜市嬴牟西大街003号;登记生效日:20100921
2008-03-19
实质审查的生效
状态信息
实质审查的生效
2007-12-26
发明专利申请公布
状态信息
公布
摘要
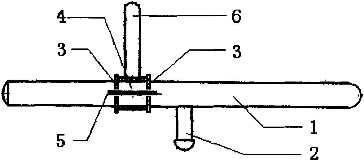
本发明涉及一种可通过磁力控制开启的锁,并涉及该锁中的插销部件以及该锁的钥匙。该锁包括后面板(7)、侧面板(11)和正面板(9),后面板(7)和正面板(9)之间包括插销件,而且后面板(7)上有内划槽(8),内划槽(8)的一端有下凹部分,正面板(9)上有外划槽(10)。其中,插销件包括插销杆(1),在插销杆(1)上固定有外划销杆(2)和轴档圈(3),在两个轴档圈(3)之间有套在插销杆(1)上的活套(4),活套(4)上固定有吸板(5)和内划销杆(6)。本发明的锁和钥匙可以广泛应用在对安全性要求不是很高的场合,如火车、轮船等交通工具上的厕所、公共厕所、电话亭等。


