授权公布号:CN211948740U
一种高压微水冲源分离一体式便器
有效
申请
2019-10-29
申请公布
1970-01-01
授权
2020-11-17
预估到期
2029-10-29
| 申请号 | CN201921837247.3 |
| 申请日 | 2019-10-29 |
| 授权公布号 | CN211948740U |
| 授权公告日 | 2020-11-17 |
| 分类号 | E03D11/02 |
| 分类 | 给水;排水; |
| 申请人名称 | 江苏华虹新能源有限公司 |
| 申请人地址 | 江苏省常州市武进前黄镇运村街 |
专利法律状态
2020-11-17
授权
状态信息
授权
摘要
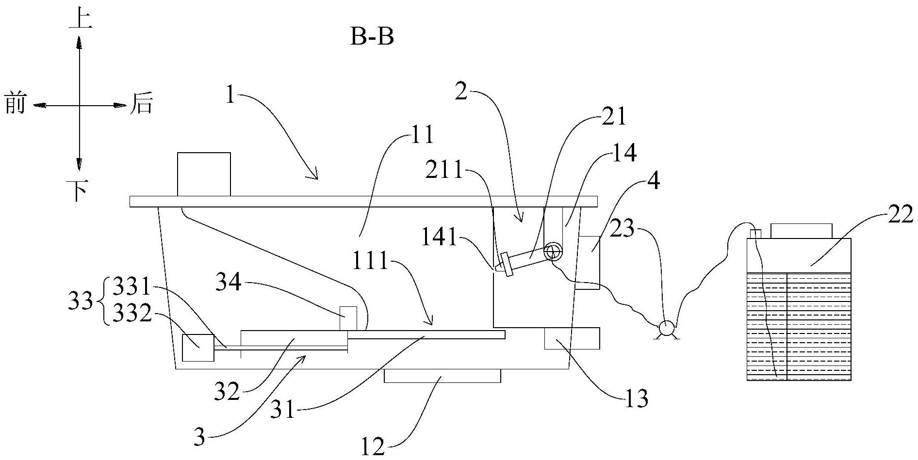
本实用新型涉及一种高压微水冲源分离一体式便器,包括:便盆体、高压微水冲装置以及粪尿分离装置,便盆体内限定有便斗、出粪口和排液口,便斗的顶部敞开,粪尿分离装置设在所述便斗的底部用于将粪尿分离成液状物和固状物,并引导所述液状物进入排液口,引导固状物进入出粪口,高压微水冲装置设在便斗的一侧,用于冲洗托板和刮皮结构。根据本实用新型实施例的高压微水冲源分离一体式便器的结构简单,易于操作,不仅可以从源头上实现粪尿中尿液和粪便的分离,提高粪尿处理效率,而且可以保证便斗的干净卫生。


