授权公布号:CN215127911U
车载移动式资源型生物厕所
有效
申请
2021-04-08
申请公布
1970-01-01
授权
2021-12-14
预估到期
2031-04-08
| 申请号 | CN202120716438.5 |
| 申请日 | 2021-04-08 |
| 授权公布号 | CN215127911U |
| 授权公告日 | 2021-12-14 |
| 分类号 | A47K11/02;B01D33/03;C02F11/04 |
| 分类 | 家具;家庭用的物品或设备;咖啡磨;香料磨;一般吸尘器; |
| 申请人名称 | 江苏华虹新能源有限公司 |
| 申请人地址 | 江苏省常州市武进区前黄镇运村街 |
专利法律状态
2021-12-14
授权
状态信息
授权
摘要
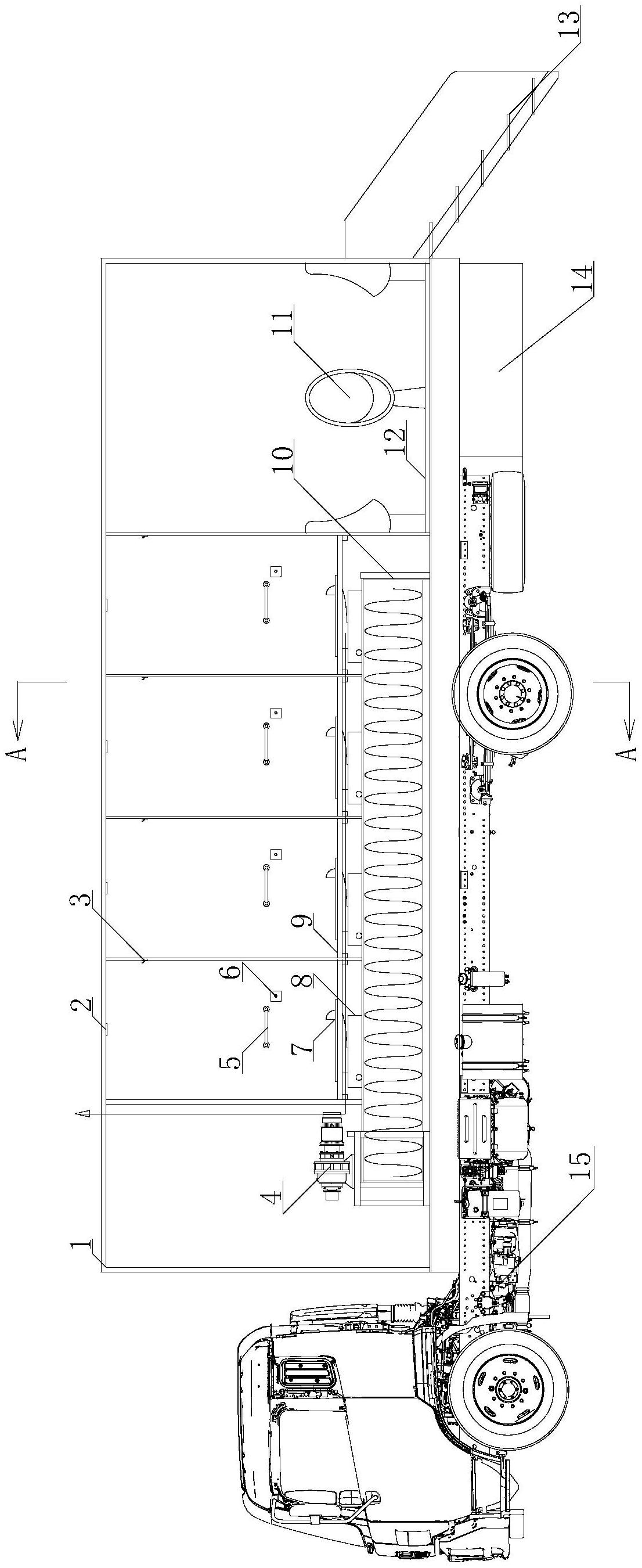
本实用新型公开了一种车载移动式资源型生物厕所。这种车载移动式资源型生物厕所,蹲便器出口处安装有固液分离装置,固液分离装置上设置有尿液排出口和粪便排出口,粪便排出口通过管路连接有发酵槽,尿液排出口通过集尿管连接至第二集尿箱,小便斗出口通过管路连接至第一集尿箱,第一集尿箱和第二集尿箱通过管路连接。本实用新型结构简单,设有固液分离装置,便于分开收集粪便和尿液,有利于后续发酵槽的发酵处理,提高资源化利用率,免水冲洗,节约用水;发酵槽内置有微生物发酵物,在搅拌装置的作用下,加速粪便与微生物发酵物的混合发酵,无害化处理,杀菌性能良好,提高资源化利用率。


