授权公布号:CN212151952U
一体化全自动密封隔油提升器
有效
申请
2019-12-30
申请公布
1970-01-01
授权
2020-12-15
预估到期
2029-12-30
| 申请号 | CN201922444337.2 |
| 申请日 | 2019-12-30 |
| 授权公布号 | CN212151952U |
| 授权公告日 | 2020-12-15 |
| 分类号 | C02F9/10 |
| 分类 | 水、废水、污水或污泥的处理; |
| 申请人名称 | 长沙中赢供水设备有限公司 |
| 申请人地址 | 湖南省长沙市花雨区香樟路255号云集大厦1305房 |
专利法律状态
2020-12-15
授权
状态信息
授权
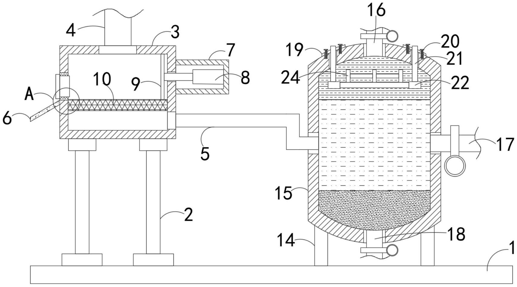
摘要
本实用新型公开了一体化全自动密封隔油提升器,包括底板,所述底板的上端连接有进料机构,所述进料机构与外部的污水源相连接,所述进料机构的侧壁上连接有移动机构,所述移动机构的一端延伸至进料机构内,所述进料机构上设有出料机构,所述底板的上端连接有处理机构,所述进料机构的输出端与处理机构的进料端相连接,所述处理机构与外部排放源相连接,所述处理机构的侧壁上连接有加热机构。本实用新型可以对装置中滤板上的杂质进行清理,从而避免了滤板的堵塞,从而能够使装置正常运行,同时提高了装置处理凝固油脂的效率,避免了装置出油过慢的情况发生,从而提高了装置出油的效率。


