授权公布号:CN213726026U
一种防水涂料拌料自动配料装置
有效
申请
2020-10-31
申请公布
1970-01-01
授权
2021-07-20
预估到期
2030-10-31
| 申请号 | CN202022473089.7 |
| 申请日 | 2020-10-31 |
| 授权公布号 | CN213726026U |
| 授权公告日 | 2021-07-20 |
| 分类号 | B01F7/18;B01F15/00;B01F15/04 |
| 分类 | 一般的物理或化学的方法或装置; |
| 申请人名称 | 山东鑫达鲁鑫防水材料有限公司 |
| 申请人地址 | 山东省潍坊市潍城区于河镇309国道351公里处 |
专利法律状态
2023-06-13
专利权质押合同登记的生效、变更及注销
状态信息
专利权质押合同登记的生效;IPC(主分类):B01F7/18;登记号:Y2023980041795;登记生效日:20230525;出质人:山东鑫达鲁鑫防水材料有限公司;质权人:潍坊农村商业银行股份有限公司潍城支行;实用新型名称:一种防水涂料拌料自动配料装置;申请日:20201031;授权公告日:20210720
2021-07-20
授权
状态信息
授权
摘要
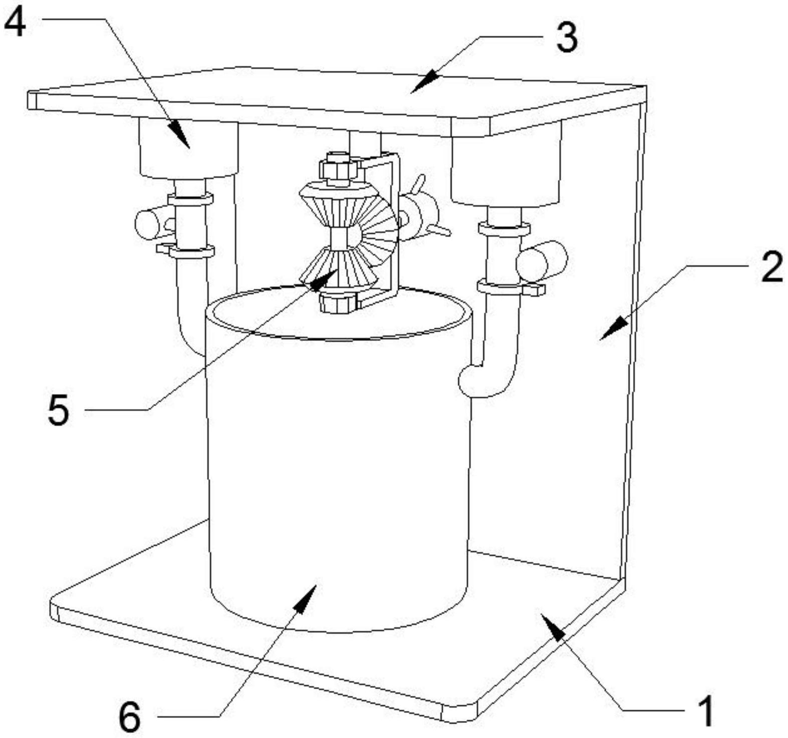
本实用新型提供一种防水涂料拌料自动配料装置,所述防水涂料拌料自动配料装置包括基板、侧板、顶板和混合桶,所述基板上表面活动安装有混合桶,所述基板上表面固定安装有侧板,所述侧板上表面固定安装有顶板,所述顶板底端位于混合桶两侧固定安装有稳定放料进混合桶的输料机构,所述侧板表面位于混合桶顶端固定处固定安装有转动带动不同转向进行搅拌的搅拌机构,本实用新型提供的防水涂料拌料自动配料装置通过通过控制输料机构向混合桶的进料量实现将防水涂料材质进行自动均匀配比输送至混合桶内,通过搅拌机构同轴不同方向的转动,带动防水涂料在混合内进行均匀搅拌,省时省力,提高工作效率。


