授权公布号:CN207371463U
一种门窗装饰用的隔热条制作用原料混合搅拌装置
有效
申请
2017-10-09
申请公布
1970-01-01
授权
2018-05-18
预估到期
2027-10-09
| 申请号 | CN201721291029.5 |
| 申请日 | 2017-10-09 |
| 授权公布号 | CN207371463U |
| 授权公告日 | 2018-05-18 |
| 分类号 | B01F13/10;B01F7/16;B01F7/26 |
| 分类 | 一般的物理或化学的方法或装置; |
| 申请人名称 | 上海优泰装饰材料有限公司 |
| 申请人地址 | 上海市奉贤区金汇工业路1390号 |
专利法律状态
2018-05-18
授权
状态信息
授权
摘要
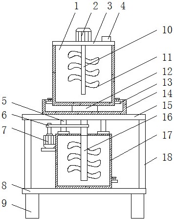
本实用新型公开了一种门窗装饰用的隔热条制作用原料混合搅拌装置,包括支撑板,所述支撑板表面两端设有支撑杆,所述支撑杆上端设有固定板,所述导流槽内设有一级搅拌桶,所述一级搅拌桶上端设有桶盖,所述桶盖上设有搅拌电机和进料口,所述搅拌电机下端设有搅拌轴,所述搅拌轴上设有搅拌叶片,所述一级搅拌桶两侧底端设有出料口,所述支撑杆之间设有二级搅拌桶,转动轴穿过固定板与导流槽内的转盘连接,所述转动轴两侧设有导流管,所述导流管上端穿过固定板与导流槽下端连接,所述二级搅拌桶一侧设有减速电机,所述减速电机与转动轴之间通过传动带连接,本实用新型,便于采用流动式搅拌,使得搅拌均匀,提高搅拌效率。


