授权公布号:CN212170533U
一种隔热条生产用裁切装置
有效
申请
2020-01-21
申请公布
1970-01-01
授权
2020-12-18
预估到期
2030-01-21
| 申请号 | CN202020143884.7 |
| 申请日 | 2020-01-21 |
| 授权公布号 | CN212170533U |
| 授权公告日 | 2020-12-18 |
| 分类号 | B26D1/08;B26D5/12;B26D7/06;B26D7/27;B26D7/18 |
| 分类 | 手动切割工具;切割;切断; |
| 申请人名称 | 上海优泰装饰材料有限公司 |
| 申请人地址 | 上海市奉贤区金汇工业路1390号 |
专利法律状态
2020-12-18
授权
状态信息
授权
摘要
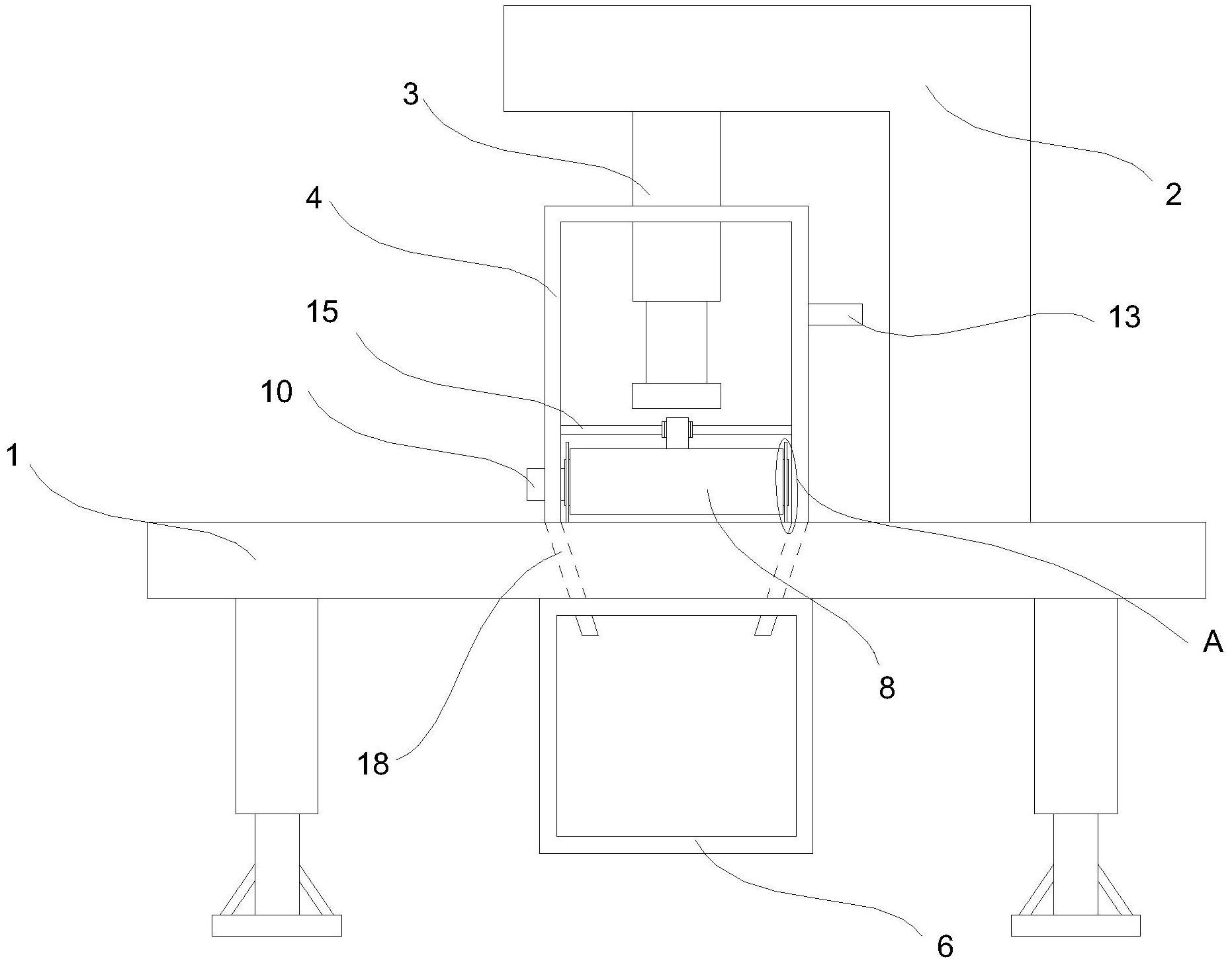
本实用新型公开了一种隔热条生产用裁切装置,属于隔热条生产技术领域。它包括工作台,所述工作台的顶部固定连接有L型支架,所述L型支架的顶部底端固定连接有气缸,所述工作台的顶部还固定安装有箱体,所述气缸伸缩端贯穿伸入箱体并固定安装有切刀。本实用新型主要利用L型支架上的气缸所连接的切刀对位于板链上的隔热条进行裁切作业,并在第一传送机构和第二传送机构的配合下,对经切刀切过的隔热条端部进行去毛边处理,经裁切和去毛边处理后的隔热条端部呈现平滑的面,一方面有利于包装,另一方面也代替了传统的手工裁切的方式,提高了裁切效率。


