授权公布号:CN211663605U
一种隔热条包装预处理装置
有效
申请
2020-01-21
申请公布
1970-01-01
授权
2020-10-13
预估到期
2030-01-21
| 申请号 | CN202020143607.6 |
| 申请日 | 2020-01-21 |
| 授权公布号 | CN211663605U |
| 授权公告日 | 2020-10-13 |
| 分类号 | B65B63/04 |
| 分类 | 输送;包装;贮存;搬运薄的或细丝状材料; |
| 申请人名称 | 上海优泰装饰材料有限公司 |
| 申请人地址 | 上海市奉贤区金汇工业路1390号 |
专利法律状态
2020-10-13
授权
状态信息
授权
摘要
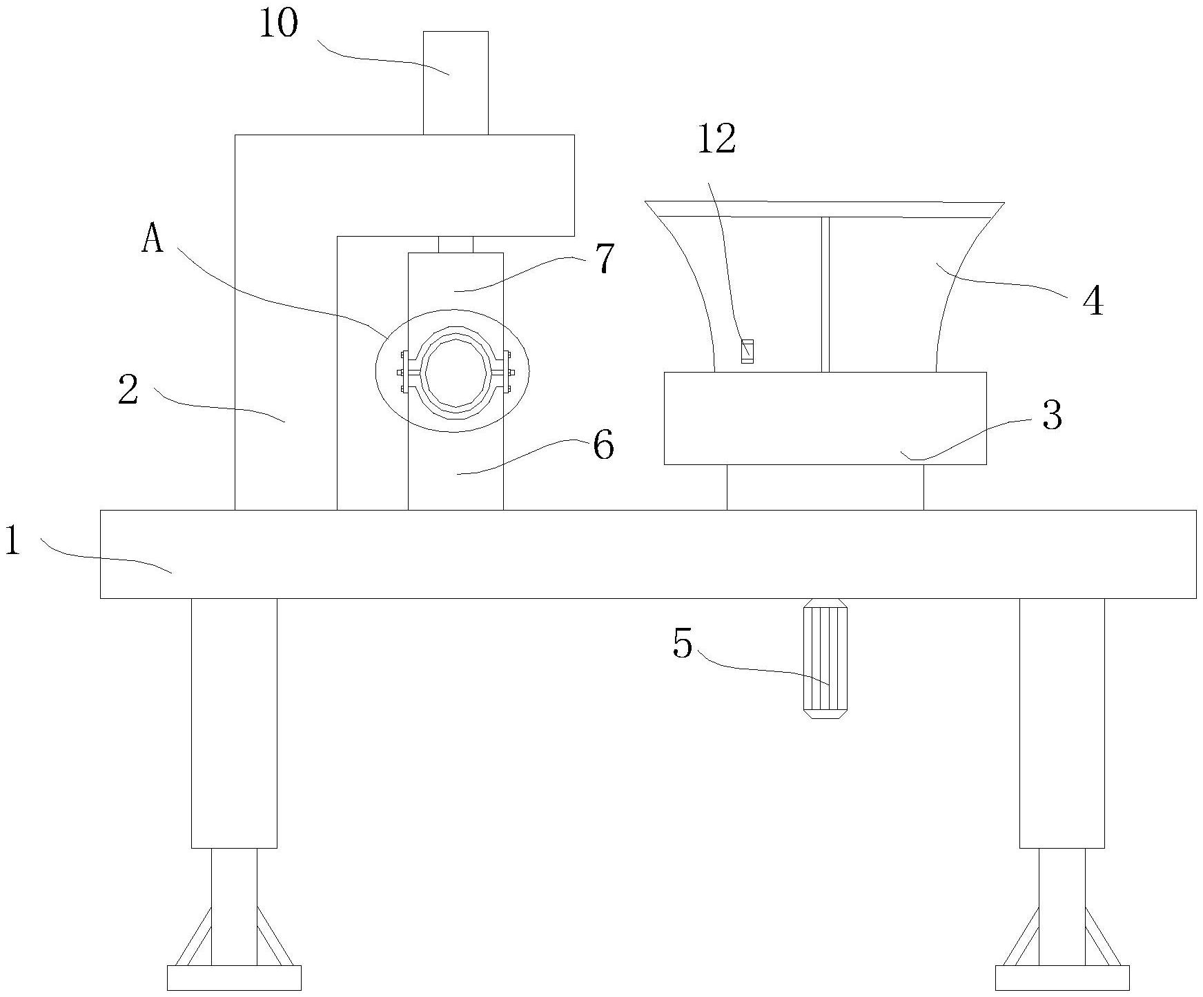
本实用新型公开了一种隔热条包装预处理装置,属于隔热条包装技术领域。它包括工作台,所述工作台顶部固定安装有L型支架,所述工作台的顶部还设有用于对隔热条进行卷绕的卷绕机构,且所述卷绕机构位于L型支架的一侧,所述L型支架上设有用于对隔热条在卷绕作业时进行调整的限位机构。本实用新型主要利用L型支架上的限位机构将存在弯折的隔热条进行调直,从而降低因隔热条弯折情况而导致在卷绕时出现鼓包的情况,继而降低了隔热条在包装时出现的损伤发生率。


