授权公布号:CN212081961U
一种隔热条生产用干燥装置
有效
申请
2020-01-21
申请公布
1970-01-01
授权
2020-12-04
预估到期
2030-01-21
| 申请号 | CN202020143862.0 |
| 申请日 | 2020-01-21 |
| 授权公布号 | CN212081961U |
| 授权公告日 | 2020-12-04 |
| 分类号 | F26B17/04 |
| 分类 | 干燥; |
| 申请人名称 | 上海优泰装饰材料有限公司 |
| 申请人地址 | 上海市奉贤区金汇工业路1390号 |
专利法律状态
2020-12-04
授权
状态信息
授权
摘要
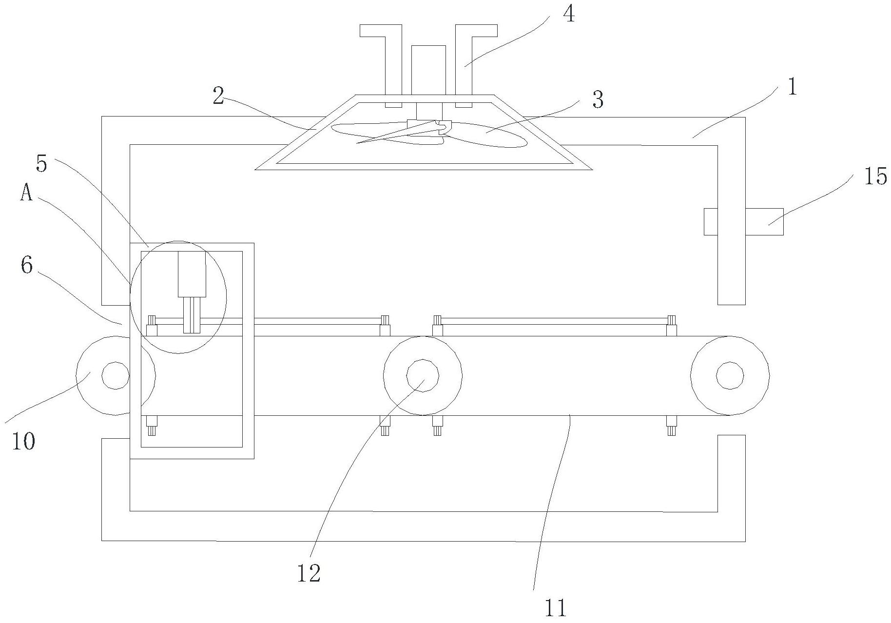
本实用新型公开了一种隔热条生产用干燥装置,属于隔热条生产辅助设备技术领域。它包括第一箱体,所述第一箱体的顶部固定安装有风罩,所述风罩的内部固定安装有风机。本实用新型主要利用第二箱体内部的擦拭机构先对板链上的隔热条原料进行初步擦拭,即相对给隔热条原料进行初步干燥,再利用第一箱体上风罩内部经加热丝加热的热空气对隔热条原料进行二次干燥,通过两种干燥方式的结合,从而对隔热条原料上经冷却而产生的水滴进行去除,从而避免出现冷却后进入切割机时将水带入切割机而影响切割效率以及切割质量,同时影响切割机进料端、切割刀生锈的情况。


