授权公布号:CN210880597U
一种隔热条注塑成型用废气处理装置
有效
申请
2019-09-23
申请公布
1970-01-01
授权
2020-06-30
预估到期
2029-09-23
| 申请号 | CN201921581614.8 |
| 申请日 | 2019-09-23 |
| 授权公布号 | CN210880597U |
| 授权公告日 | 2020-06-30 |
| 分类号 | B29C45/17 |
| 分类 | 塑料的加工;一般处于塑性状态物质的加工; |
| 申请人名称 | 上海优泰装饰材料有限公司 |
| 申请人地址 | 上海市奉贤区金汇工业路1390号 |
专利法律状态
2020-06-30
授权
状态信息
授权
摘要
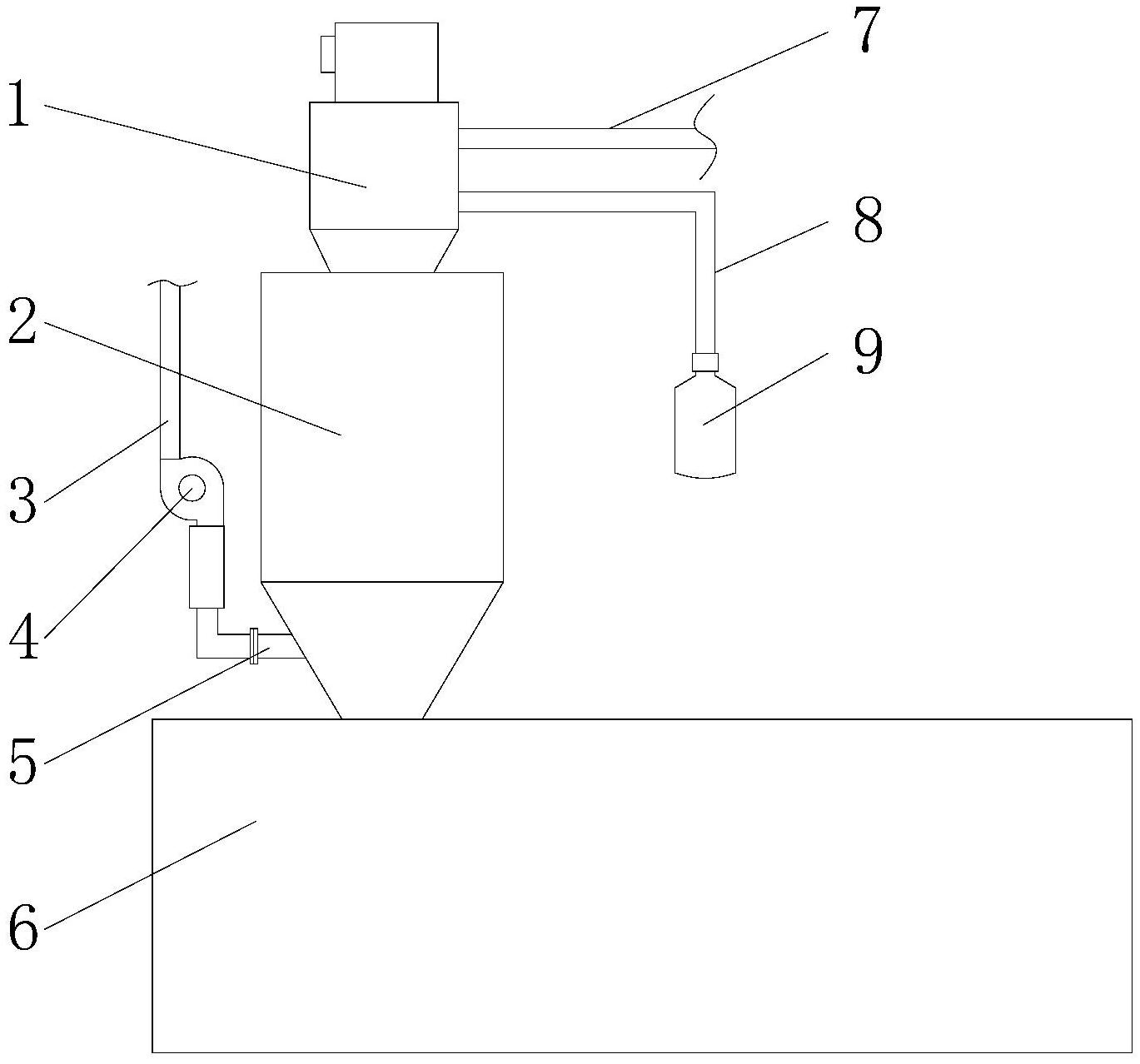
本实用新型公开了一种隔热条注塑成型用废气处理装置,属于废气处理设备技术领域。它包括多个注塑机,每个注塑机的进料口均固定连通有料斗,每个料斗的顶部均固定连通有吸料机,每个吸料机上均连通有吸料管,每个料斗的侧壁均固定连通有法兰管,每个法兰管的一端均密封固定连通有抽风机,每个抽风机的出气口均固定连通有支管道,多个支管道的一端共同固定连通有主管道,主管道的一端固定连通有净化器。本实用新型通过抽风机将注塑机作业过程中产生的废气和灰尘收集起来,避免其扩散在车间中而危害工人的健康,并且该装置能够同时集中处理整个厂房中的多组注塑机,大大地提高了废气的处理效率,并且结构简单,制作和维护成本低。


