授权公布号:CN207345097U
一种铝合金型材隔热条的自动穿条机
有效
申请
2017-10-09
申请公布
1970-01-01
授权
2018-05-11
预估到期
2027-10-09
| 申请号 | CN201721291123.0 |
| 申请日 | 2017-10-09 |
| 授权公布号 | CN207345097U |
| 授权公告日 | 2018-05-11 |
| 分类号 | B29C65/64 |
| 分类 | 塑料的加工;一般处于塑性状态物质的加工; |
| 申请人名称 | 上海优泰装饰材料有限公司 |
| 申请人地址 | 上海市奉贤区金汇工业路1390号 |
专利法律状态
2018-05-11
授权
状态信息
授权
摘要
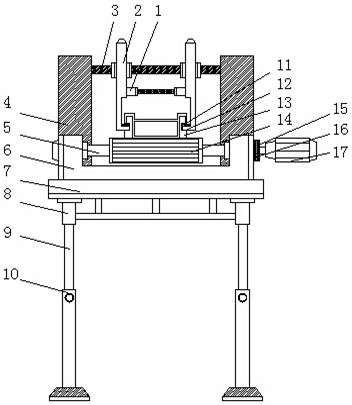
本实用新型公开了一种铝合金型材隔热条的自动穿条机,包括护板,所述护板之间的靠上位置处安装有滑竿,所述滑竿上安装有防倾斜夹板,所述转动轴上安装有输送带,所述输送带上安装有隔热条,所述传动轴上安装有传动带,所述传动轴的一端安装有电机,所述护板的底部安装有底座,所述底座的底部安装有安装套,所述安装套的下方安装有伸缩杆,所述伸缩杆的底部安装有支撑腿。本实用新型安装有防倾斜夹板,且防倾斜夹板安装在滑竿上,而防倾斜夹板安装有两个,且两个防倾斜夹板之间安装有液压装置,通过此种设计可以调节两个防倾斜夹板之间的距离,从而对不同尺寸的隔热条进行固定,增大了其灵活应变能力。


