授权公布号:CN213971350U
一种尼龙隔热条加工用固定装置
有效
申请
2020-12-29
申请公布
1970-01-01
授权
2021-08-17
预估到期
2030-12-29
| 申请号 | CN202023258696.8 |
| 申请日 | 2020-12-29 |
| 授权公布号 | CN213971350U |
| 授权公告日 | 2021-08-17 |
| 分类号 | B26D1/06;B26D7/02 |
| 分类 | 手动切割工具;切割;切断; |
| 申请人名称 | 佛山市南海金科利新型材料有限公司 |
| 申请人地址 | 广东省佛山市南海区里水镇和顺共同村共同工业开发区西16号之三 |
专利法律状态
2021-08-17
授权
状态信息
授权
摘要
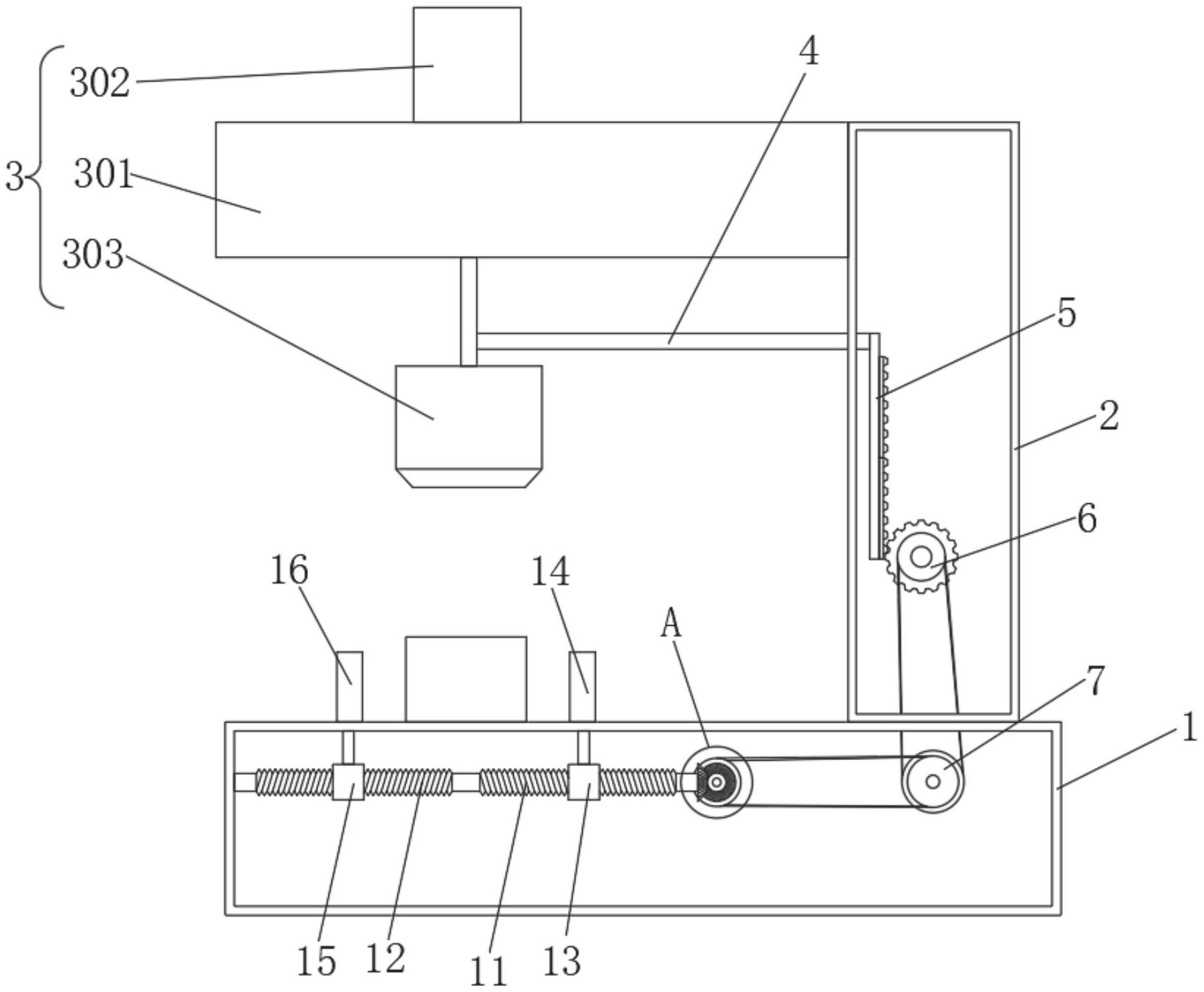
本实用新型公开了一种尼龙隔热条加工用固定装置,涉及尼龙隔热条加工技术领域,包括底座,所述底座的顶部与支撑柱的底部固定连接,所述支撑柱的左侧设置有切割组件,所述切割组件包括有顶板,通过启动切割组件,直线电机控制切割刀片向下移动,带动连接杆向下,连接杆带动齿条向下移动,使齿轮旋转,齿轮通过传动带A带动传动轮旋转,传动轮通过传动带B带动转动轮转动,转动轮带动锥形齿轮A旋转,锥形齿轮A通过锥形齿轮B带动螺纹杆A旋转,螺纹杆A带动螺纹杆B转动,由于螺纹杆A和螺纹杆B的螺纹方向是互为相反的,从而达到使螺母A和螺母B一起向中间移动,从而达到使左夹板和右夹板夹住中间的尼龙隔热条。


