授权公布号:CN216945328U
一种尼龙隔热条检测装置
有效
申请
2022-04-06
申请公布
1970-01-01
授权
2022-07-12
预估到期
2032-04-06
| 申请号 | CN202220796598.X |
| 申请日 | 2022-04-06 |
| 授权公布号 | CN216945328U |
| 授权公告日 | 2022-07-12 |
| 分类号 | B65G65/32;G01N25/00 |
| 分类 | 输送;包装;贮存;搬运薄的或细丝状材料; |
| 申请人名称 | 佛山市南海金科利新型材料有限公司 |
| 申请人地址 | 广东省佛山市南海区里水镇和顺共同村共同工业开发区西16号之三 |
专利法律状态
2022-07-12
授权
状态信息
授权
摘要
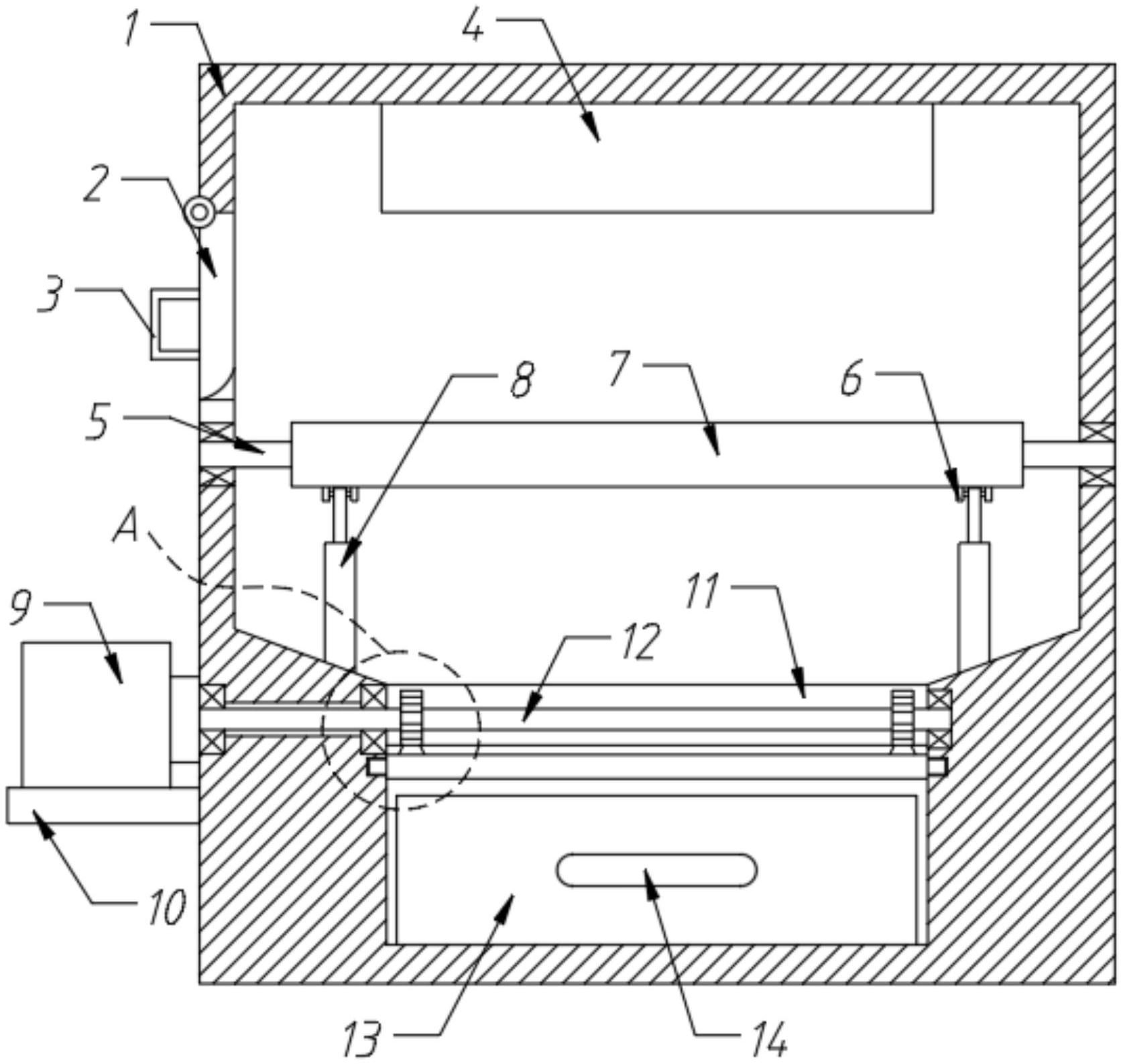
本实用新型涉及检测装置技术领域,尤其涉及一种尼龙隔热条检测装置。其技术方案包括:检测装置及设于检测装置内腔顶壁的加热器,检测装置的中部内腔设有放置板,放置板的中部板体贯穿设有转动轴,放置板的两侧底部均设有推动机构,检测装置的内腔底壁开设有安装槽,安装槽的内腔中设有分隔机构,安装槽的内腔底部设有收料箱。本实用新型通过设置推动机构顶起放置板的一侧,进而可使得检测完毕的尼龙隔热条自动掉落,与此同时通过分隔机构打开隔热板,使得掉落的尼龙隔热条自动落入到收料箱中,从而无需在检测完成后由工作人员打开仓门手动取出尼龙隔热条,避免了工作人员在将手伸进检测装置中拿取尼龙隔热条时发生烫伤的情况。


