授权公布号:CN210948224U
一种新型隔热暖桥结构
有效
申请
2019-08-27
申请公布
1970-01-01
授权
2020-07-07
预估到期
2029-08-27
| 申请号 | CN201921401308.1 |
| 申请日 | 2019-08-27 |
| 授权公布号 | CN210948224U |
| 授权公告日 | 2020-07-07 |
| 分类号 | E06B3/263 |
| 分类 | 一般门、窗、百叶窗或卷辊遮帘;梯子; |
| 申请人名称 | 天津瑞丰橡塑制品有限公司 |
| 申请人地址 | 天津市津南区小站镇工业园区6号路 |
专利法律状态
2020-07-07
授权
状态信息
授权
摘要
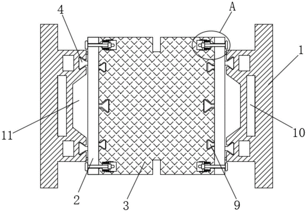
本实用新型公开了一种新型隔热暖桥结构,包括两个合金板、两个隔热条和硬质芯,所述隔热条的两侧侧壁均固定连接有多个第一楔形块,所述合金板的侧壁和所述硬质芯的侧壁均开设有多个与第一楔形块匹配的第一楔形槽,所述硬质芯中开设有多个安装腔,所述安装腔的上下内壁之间均滑动连接有活动杆,两个所述活动杆的侧壁之间固定连接有螺母,所述隔热条的侧壁横向设有多个螺栓,所述螺栓贯穿隔热条、安装腔的内壁和螺母,多个所述活动杆的侧壁均通过复位弹簧与安装腔的内壁固定连接。本实用新型转动螺栓,调节螺母的位置进而带动复位弹簧形变,这样调节硬质芯和隔热条的松紧程度,保证长久使用后也具有良好的断热桥性能。


