授权公布号:CN211524560U
一种复合暖边间隔条
有效
申请
2019-08-21
申请公布
1970-01-01
授权
2020-09-18
预估到期
2029-08-21
| 申请号 | CN201921360141.9 |
| 申请日 | 2019-08-21 |
| 授权公布号 | CN211524560U |
| 授权公告日 | 2020-09-18 |
| 分类号 | E06B3/663 |
| 分类 | 一般门、窗、百叶窗或卷辊遮帘;梯子; |
| 申请人名称 | 天津瑞丰橡塑制品有限公司 |
| 申请人地址 | 天津市津南区小站镇工业园区6号路 |
专利法律状态
2020-09-18
授权
状态信息
授权
摘要
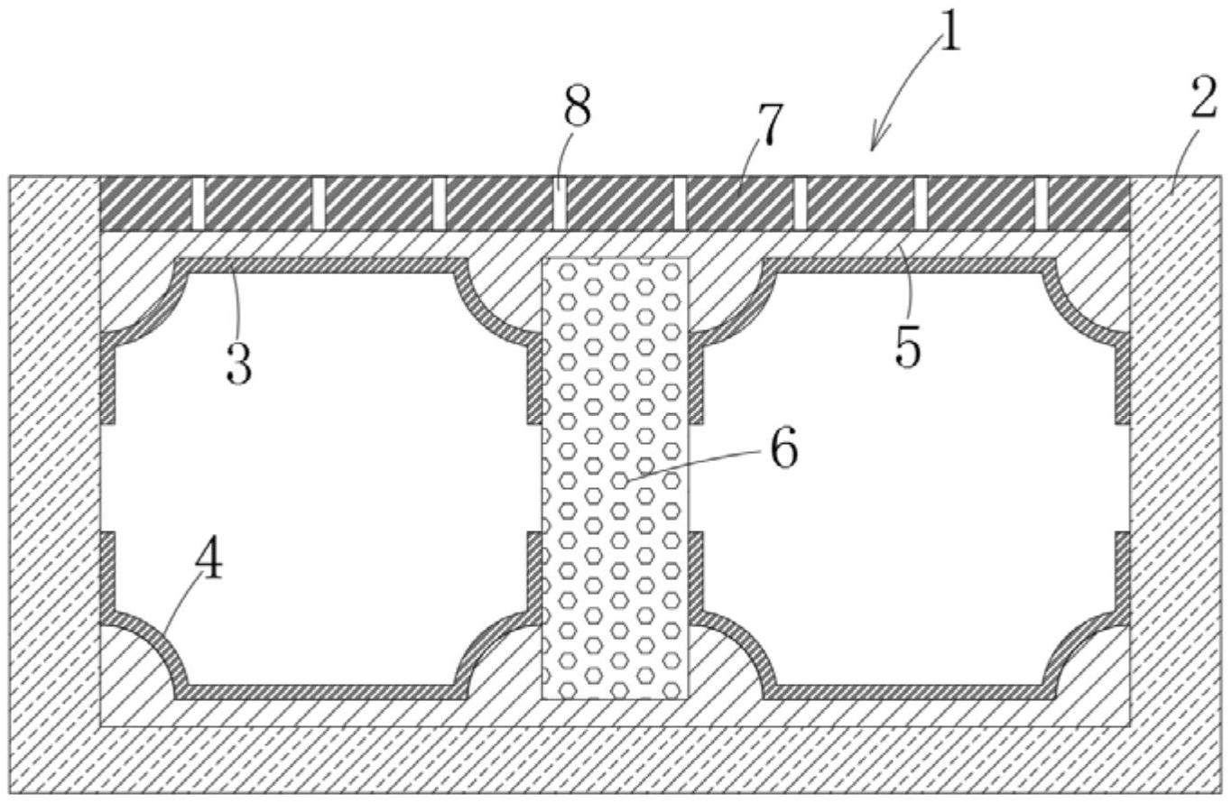
本实用新型公开了一种复合暖边间隔条,包括暖边间隔条本体,所述暖边间隔条本体由U型密封垫、支撑垫、保护层、两个限位橡胶垫和两个支架组成,两个所述限位橡胶垫呈上下设置分组在U型密封垫的内侧,两个所述支架位于两个限位橡胶垫之间,两个所述支架相背的一面均与U型密封垫相连接,所述支撑垫位于两个支架之间并与其相连接,所述保护层位于上侧的限位橡胶垫的上端且与U型密封垫的上端齐平,所述暖边间隔条本体的侧面均设有玻璃。本实用新型结构合理,对玻璃的支撑效果好,保证玻璃整体形状稳定且结构简单便于生产安装,通过槽体可以对保护层受热碰撞留足空间,保证其不易脱胶翘起,增加暖边间隔条本体的使用寿命。


