授权公布号:CN212948110U
一种隔热条生产用切割装置
有效
申请
2020-07-14
申请公布
1970-01-01
授权
2021-04-13
预估到期
2030-07-14
| 申请号 | CN202021368708.X |
| 申请日 | 2020-07-14 |
| 授权公布号 | CN212948110U |
| 授权公告日 | 2021-04-13 |
| 分类号 | B26D7/06;B26D7/04;B26D1/08;B26D5/00;B26D7/10 |
| 分类 | 手动切割工具;切割;切断; |
| 申请人名称 | 河南德义安新材料有限公司 |
| 申请人地址 | 河南省平顶山市尼龙新材料产业集聚区化工三路北段尼龙深加工产业园2号厂房 |
专利法律状态
2021-04-13
授权
状态信息
授权
摘要
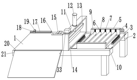
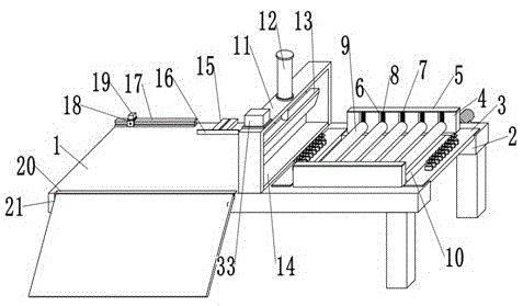
本实用新型公开了一种隔热条生产用切割装置,包括工作台,工作台顶部外壁两侧通过螺栓安装有支架,且支架顶部外壁上通过螺栓安装有第一气缸,第一气缸的输出端通过螺栓安装有切刀,且切刀一侧外壁上通过螺钉安装有电热丝,工作台顶部外壁一侧通过螺钉安装有位于支架内部的刀台,工作台顶部外壁一侧通过螺栓安装有滑轨,且滑轨外部滑动连接有安装板。本实用新型在切割时,可以根据需要切割的长度在对隔热条进切割,有利于提高隔热条切割的工作效率,降低工作人员的劳动强度;在切割时,传送带可以运输隔热条,同时压辊与滑轮可以对传送带运输的隔热条进行限位,从而避免工作人员手持隔热条切割时受伤,有利于提高该装置的安全性。


