授权公布号:CN212949097U
一种用于隔热条加工的改性工程塑料热熔挤出装置
有效
申请
2020-07-16
申请公布
1970-01-01
授权
2021-04-13
预估到期
2030-07-16
| 申请号 | CN202021394503.9 |
| 申请日 | 2020-07-16 |
| 授权公布号 | CN212949097U |
| 授权公告日 | 2021-04-13 |
| 分类号 | B29C48/395;B29C48/80;B29C48/885 |
| 分类 | 塑料的加工;一般处于塑性状态物质的加工; |
| 申请人名称 | 河南德义安新材料有限公司 |
| 申请人地址 | 河南省平顶山市尼龙新材料产业集聚区化工三路北段尼龙深加工产业园2号厂房 |
专利法律状态
2021-04-13
授权
状态信息
授权
摘要
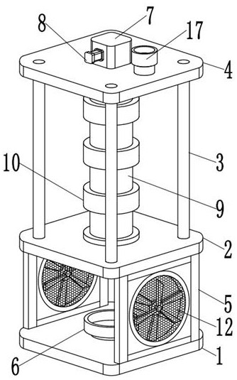
本实用新型公开了一种用于隔热条加工的改性工程塑料热熔挤出装置,包括中板,中板顶部外壁的四周焊接有支撑杆,且支撑杆的顶端焊接有顶板,中板与顶板相邻一侧外壁的轴心处焊接有筒柱,且筒柱的外侧壁上焊接有等距离呈上下结构分布的外环,外环靠近筒柱的内侧壁上铺设有电热管,且电热管在外环的内部呈螺旋状结构分布,顶板顶部外壁的轴心处通过螺栓安装有减速器。本实用新型传动轴带动挤压绞龙在筒柱的内部对热熔塑料进行挤压输送,使得工程塑料在进行输送的同时完成挤压加工,极大的提升了工程塑料的热熔加工效率,电热管能够对筒柱内部的热熔塑料进行有效的加热,防止挤出的过程中热熔塑料遇冷凝固的情况出现。


