授权公布号:CN212942677U
一种隔热条生产用热熔真空混料装置
有效
申请
2020-07-14
申请公布
1970-01-01
授权
2021-04-13
预估到期
2030-07-14
| 申请号 | CN202021368664.0 |
| 申请日 | 2020-07-14 |
| 授权公布号 | CN212942677U |
| 授权公告日 | 2021-04-13 |
| 分类号 | B01F13/06;B01F15/02;B01F15/00 |
| 分类 | 一般的物理或化学的方法或装置; |
| 申请人名称 | 河南德义安新材料有限公司 |
| 申请人地址 | 河南省平顶山市尼龙新材料产业集聚区化工三路北段尼龙深加工产业园2号厂房 |
专利法律状态
2021-04-13
授权
状态信息
授权
摘要
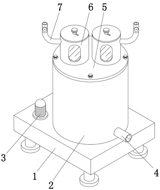
本实用新型公开了一种隔热条生产用热熔真空混料装置,包括底座,底座的顶部外壁上通过螺栓安装有混料罐,且混料罐的顶部外壁上通过螺栓安装有盖板,盖板与混料罐的底部内壁之间通过轴承转动连接有绞龙,且绞龙的底端贯穿至底座的下方,绞龙的侧面外壁上焊接有呈等距离分布的连接杆,且连接杆远离绞龙的一端焊接有刮板,混料罐的底部内壁上焊接有隔板,且隔板的一侧外壁上通过螺栓安装有加热管,底座顶部外壁的一侧通过螺栓安装有真空泵,底座的一侧外壁上插接有抽气管。本实用新型在装置运行的过程中,同时也会带动刮板运动,使得刮板不断地将装置内壁上粘结地原料刮下,防止原料堆积难以清理,使得装置的使用寿命大大提升。


