授权公布号:CN220336734U
一种具有密封结构的耐腐蚀聚酰胺隔热条
有效
申请
2023-07-08
申请公布
1970-01-01
授权
2024-01-12
预估到期
2033-07-08
| 申请号 | CN202321782463.9 |
| 申请日 | 2023-07-08 |
| 授权公布号 | CN220336734U |
| 授权公告日 | 2024-01-12 |
| 分类号 | E06B3/263;F16F15/023;F25D1/02;F16L59/02;F16L59/10 |
| 分类 | 一般门、窗、百叶窗或卷辊遮帘;梯子; |
| 申请人名称 | 河南德义安新材料有限公司 |
| 申请人地址 | 河南省平顶山市叶县龚店镇化工三路北段尼龙深加工产业园2号厂房 |
专利法律状态
2024-01-12
授权
状态信息
授权
摘要
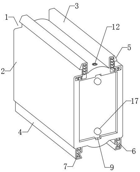
本实用新型公开了一种具有密封结构的耐腐蚀聚酰胺隔热条,包括装置本体,所述装置本体包含外壳体和储水袋,所述外壳体上下两端分别设置有上卡条和下卡条且上卡条和下卡条上均设有侧边条,所述上卡条和下卡条内分别开设有空心槽且空心槽内固定有弹性组件,所述储水袋活动安装在外壳体内,所述储水袋与外壳体上均开设有两组安装孔,两组所述安装孔内均设置有螺栓,所述储水袋内设置有储水腔,所述储水袋外侧设有加液口和排液口,由此,能够实现对装置本体的隔热降温能力的有效提升,避免了装置因受热能力不佳或受外力影响而导致自身出现形变的问题,能够实现对卡条的弹性扩张和支撑操作,便于装置与外部连接件之间保持密封贴合。


