授权公布号:CN214997038U
一种隔热连接结构
有效
申请
2020-12-29
申请公布
1970-01-01
授权
2021-12-03
预估到期
2030-12-29
| 申请号 | CN202023254239.1 |
| 申请日 | 2020-12-29 |
| 授权公布号 | CN214997038U |
| 授权公告日 | 2021-12-03 |
| 分类号 | E06B3/263;E06B3/66 |
| 分类 | 一般门、窗、百叶窗或卷辊遮帘;梯子; |
| 申请人名称 | 泰诺风保泰(苏州)隔热材料有限公司 |
| 申请人地址 | 江苏省苏州市工业园区现代大道东青丘街283号 |
专利法律状态
2021-12-03
授权
状态信息
授权
摘要
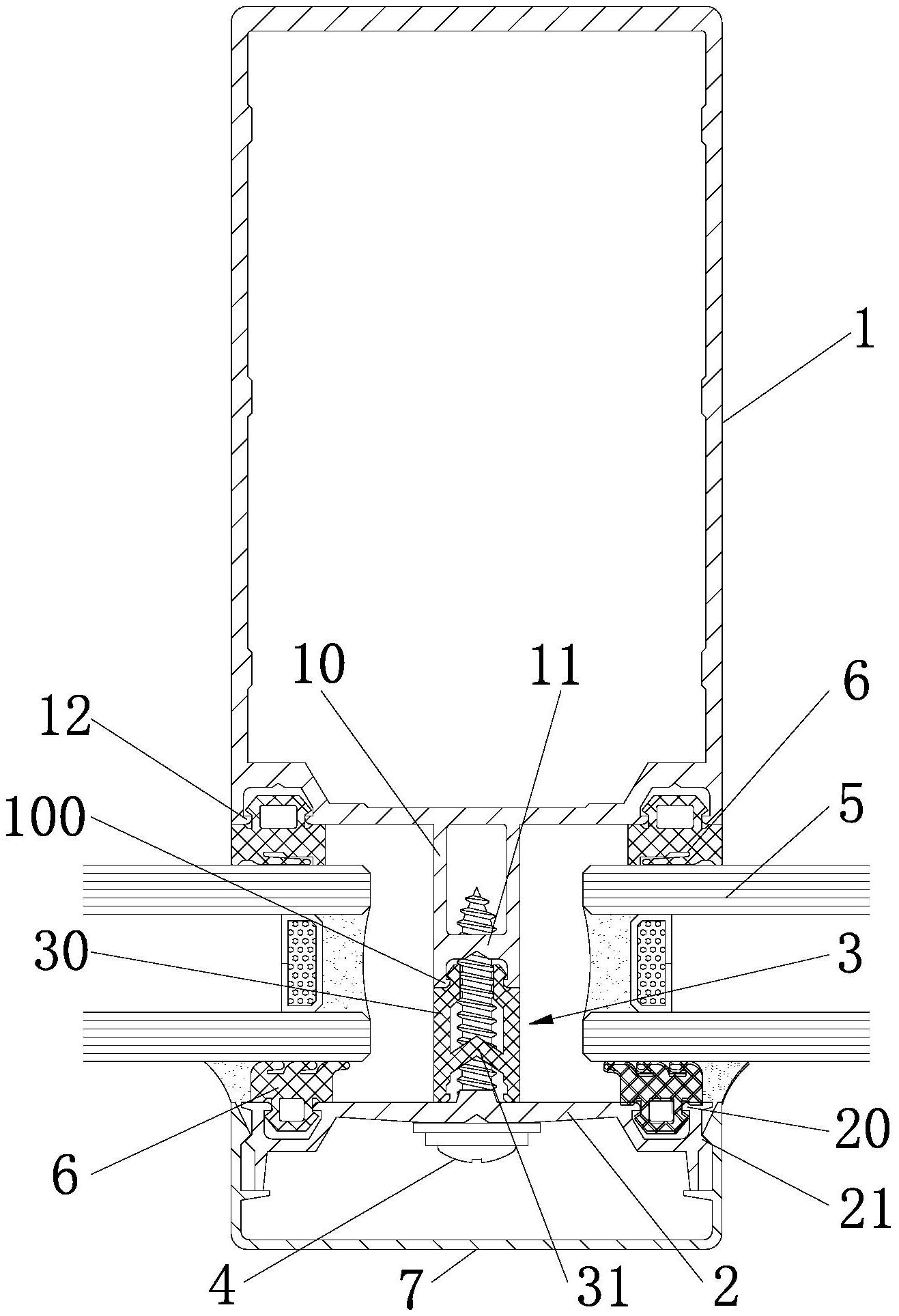
本实用新型涉及一种隔热连接结构,包括第一固定件、第二固定件、连接件以及紧固件,连接件包括位于两侧的连接条、连接在两侧连接条之间的定位条,连接条的两端分别设置有连接勾部,连接条具有向其两侧凸出的抵压部,第一固定件上设置有固定勾部,连接时:连接件一端的连接勾部勾住第一固定件的固定勾部,且第一固定件的固定勾部抵在连接条的抵押部上,连接件另一端的连接勾部抵住在第二固定件上,紧固件穿过第二固定件、定位条以及第一定位件并紧固。本实用新型采用两端勾部的连接件结构,方便装饰材料在特高隔热效果和增大隔档件厚度时方便卡接安装,易于施工;与铝型材卡勾式配合,更加扩大了连接件的适应范围,降低材料成本。


