授权公布号:CN215565348U
一种隔热型材连接结构
有效
申请
2020-12-29
申请公布
1970-01-01
授权
2022-01-18
预估到期
2030-12-29
| 申请号 | CN202023247089.1 |
| 申请日 | 2020-12-29 |
| 授权公布号 | CN215565348U |
| 授权公告日 | 2022-01-18 |
| 分类号 | E06B3/263;E06B3/964;E06B3/66;E06B7/23 |
| 分类 | 一般门、窗、百叶窗或卷辊遮帘;梯子; |
| 申请人名称 | 泰诺风保泰(苏州)隔热材料有限公司 |
| 申请人地址 | 江苏省苏州市工业园区现代大道东青丘街283号 |
专利法律状态
2022-01-18
授权
状态信息
授权
摘要
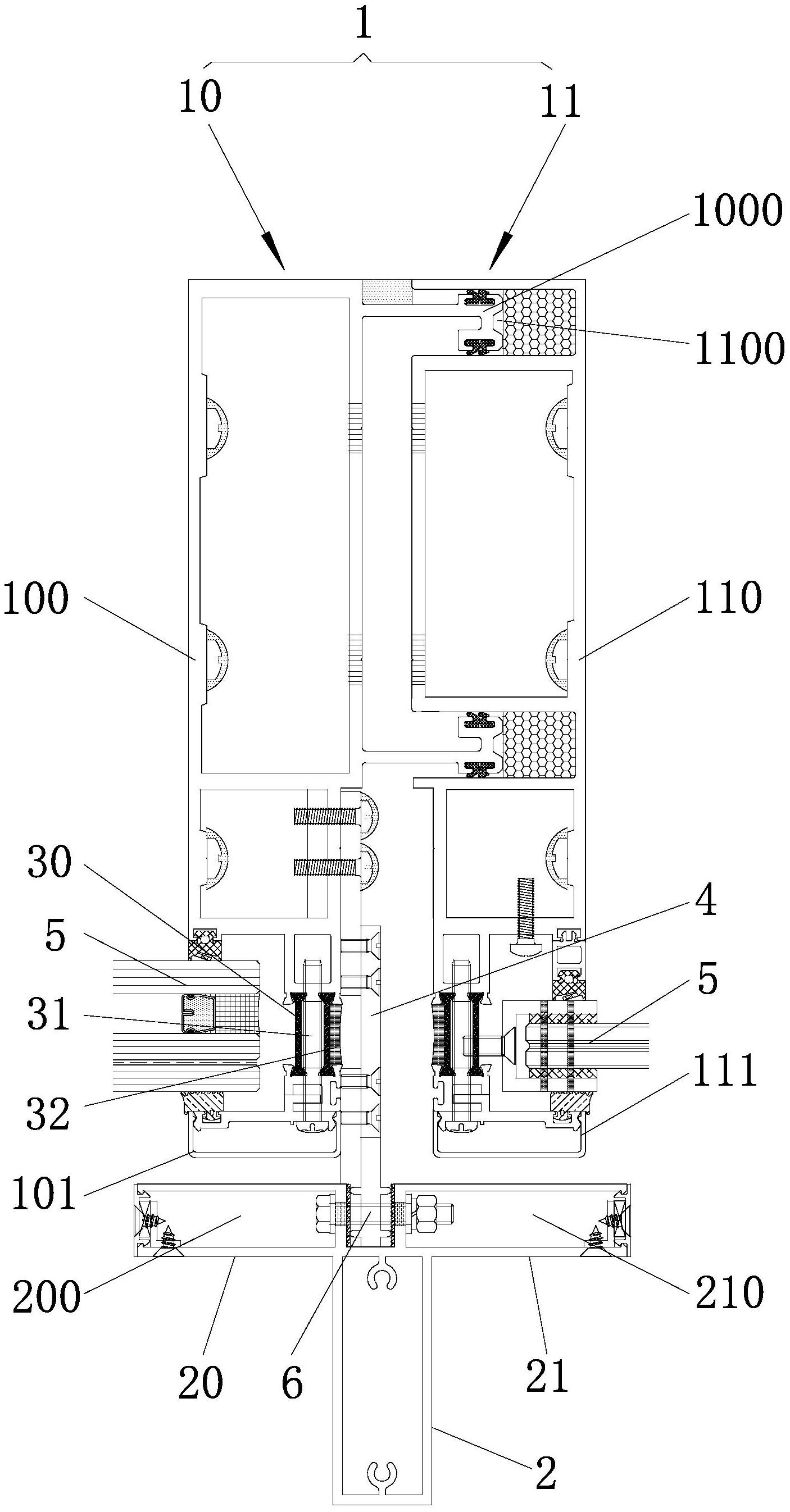
本实用新型涉及一种隔热型材连接结构,包括第一固定组件、第二固定件、连接杆,第一固定组件包括相连接的左侧固定件、右侧固定件,左侧固定件包括相连接的第一左侧固定件、第二左侧固定件,第一左侧固定件、第二左侧固定件之间形成用于固定格挡件的区域;右侧固定件包括相连接的第一右侧固定件、第二右侧固定件,第一右侧固定件、第二右侧固定件之间形成用于固定格挡件的区域,第一左侧固定件与第一右侧固定件相连接,连接杆一端同时与第一左侧固定件、第二左侧固定件相连接,连接杆的另一端与第二固定件相连接。本实用新型通过连接杆实现第一固定组件、第二固定件的连接,大大便于第二固定件的更换,并且连接方式结构简单,不易松脱。


