授权公布号:CN214886688U
一种密封条
有效
申请
2021-01-05
申请公布
1970-01-01
授权
2021-11-26
预估到期
2031-01-05
| 申请号 | CN202120028304.4 |
| 申请日 | 2021-01-05 |
| 授权公布号 | CN214886688U |
| 授权公告日 | 2021-11-26 |
| 分类号 | E06B7/23 |
| 分类 | 一般门、窗、百叶窗或卷辊遮帘;梯子; |
| 申请人名称 | 宁波信高节能材料有限公司 |
| 申请人地址 | 浙江省宁波市余姚市泗门镇协力路5号 |
专利法律状态
2021-11-26
授权
状态信息
授权
摘要
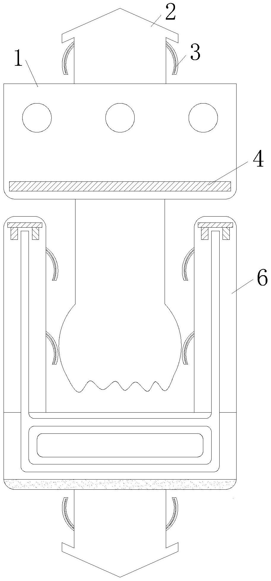
本实用新型公开了一种密封条,属于五金密封条技术领域,包括活动胶条和固定胶块,活动胶条与固定胶块套设连接,活动胶条的顶部设置有倒刺刺锥A,倒刺刺锥A设置为箭头状,倒刺刺锥A的两侧均设置有第一倒刺,活动胶条内部的底壁安装有磁块A,活动胶条的底部安装有卡条,固定胶块的底端设置有固定胶片,固定胶块固定安装在固定胶片上端的左右两侧,并且两个固定胶块结构一致,两个固定胶块相对的两面对应安装有第二倒刺,第二倒刺等距离分布在固定胶块上,它可以实现门窗之间连接关系更加稳定,使密封条不易因长久使用而发生形变的作用,增强密封性,达到隔音降噪的效果,加固结构,避免长久开合撞击导致损坏。


