授权公布号:CN214687846U
一种隔热条生产用上料斗
有效
申请
2021-04-30
申请公布
1970-01-01
授权
2021-11-12
预估到期
2031-04-30
| 申请号 | CN202120927026.6 |
| 申请日 | 2021-04-30 |
| 授权公布号 | CN214687846U |
| 授权公告日 | 2021-11-12 |
| 分类号 | B29C48/285;B29C48/27 |
| 分类 | 塑料的加工;一般处于塑性状态物质的加工; |
| 申请人名称 | 河南盈科新材料有限公司 |
| 申请人地址 | 河南省平顶山市高新区神马大道666号高新火炬园5号厂房 |
专利法律状态
2023-11-17
专利申请权、专利权的转移
状态信息
专利权的转移;IPC(主分类):B29C 48/285;专利号:ZL2021209270266;登记生效日:20231102;变更事项:专利权人;变更前权利人:河南盈科新材料有限公司;变更后权利人:河南龙科新材料有限公司;变更事项:地址;变更前权利人:467000 河南省平顶山市市辖区神马大道东段666号高新区火炬园25号楼2楼;变更后权利人:467019 河南省平顶山市高新区神马大道666号高新火炬园5号厂房
2021-11-12
授权
状态信息
授权
摘要
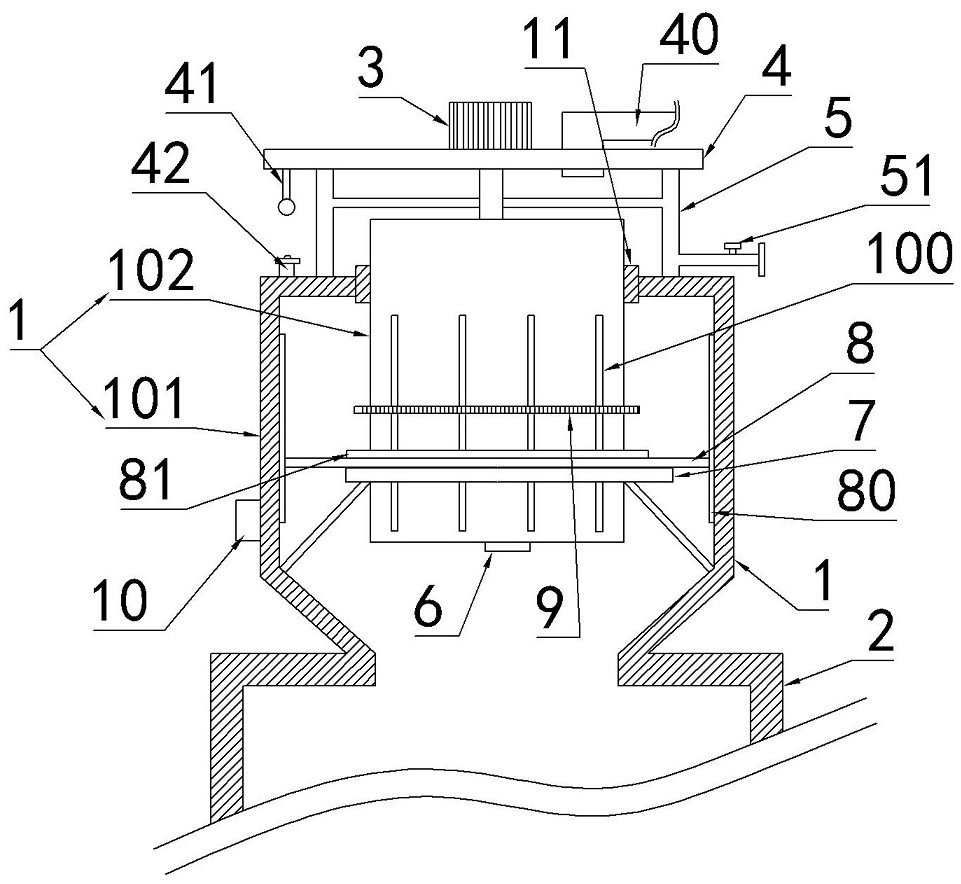
本实用新型涉及一种隔热条生产用上料斗,包括料斗和混料仓,料斗包括外斗和内斗,内斗的顶部设有电机,气囊的一侧设有电动开关阀;内斗的侧壁设有排料槽,内斗的底部设有重量感应器,限位环的顶部贴合设有转板,转板的顶部设有通孔,通孔内设有齿圈,转板的两侧设有清理刷;内斗的外壁上设有齿轮,触杆的下方设有限位开关,外斗的侧壁设有PLC控制装置,当隔热条原料加入量达到预定值后,内斗下移;当齿轮与齿圈啮合时,触杆触发限位开关,内斗停止下移,同时,电机被启动,电机驱动内斗转动,原料定量从排料槽排出至混料仓内,避免料斗的堵塞;清理刷可有防止原料粘附于外斗内壁上,减轻工作人员的清理负担。


