授权公布号:CN214767506U
门窗隔热条生产用上料机构
有效
申请
2020-12-01
申请公布
1970-01-01
授权
2021-11-19
预估到期
2030-12-01
| 申请号 | CN202022858033.3 |
| 申请日 | 2020-12-01 |
| 授权公布号 | CN214767506U |
| 授权公告日 | 2021-11-19 |
| 分类号 | B08B7/02;B08B5/04;B08B13/00 |
| 分类 | 清洁; |
| 申请人名称 | 山东泰杰隔热材料有限公司 |
| 申请人地址 | 山东省潍坊市临朐县东城街道贾家庄村 |
专利法律状态
2021-11-19
授权
状态信息
授权
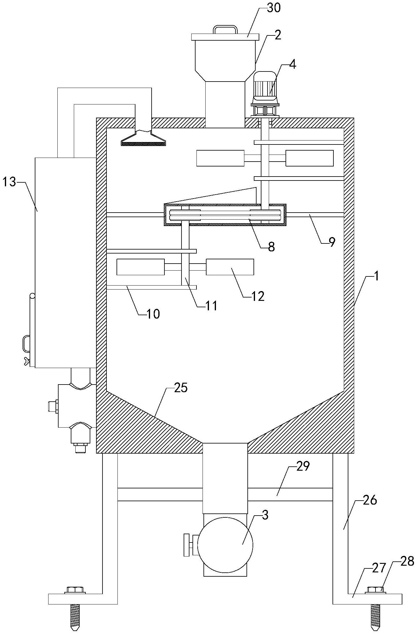
摘要
本实用新型涉及隔热条生产的技术领域,特别是涉及一种门窗隔热条生产用上料机构,其通过设置,可提高原料的洁净度,加强隔热条的生产效果;包括清理筒、电机、两组第一固定板、两组第一打击板、传动装置、两组固定杆、两组第二固定板、第二转轴、两组第二打击板和吸尘装置,清理筒内设有腔室,清理筒顶端设有进料漏斗,清理筒底端设有出料阀,电机底端和清理筒顶端固定连接,两组第一固定板右端固定安装在清理筒内壁上,电机的输出端设有第一转轴,第一转轴可转动穿过清理筒顶端和两组第一固定板,两组第一打击板固定安装在第一转轴上,第一转轴底端和传动装置顶端转动连接,传动装置依靠两组固定杆固定安装在清理筒腔室内。


