授权公布号:CN215242749U
一种铝合金门窗隔热条的挤出模机构
有效
申请
2020-12-03
申请公布
1970-01-01
授权
2021-12-21
预估到期
2030-12-03
| 申请号 | CN202022898078.3 |
| 申请日 | 2020-12-03 |
| 授权公布号 | CN215242749U |
| 授权公告日 | 2021-12-21 |
| 分类号 | B29C48/30;B29C48/87 |
| 分类 | 塑料的加工;一般处于塑性状态物质的加工; |
| 申请人名称 | 山东泰杰隔热材料有限公司 |
| 申请人地址 | 山东省潍坊市临朐县东城街道贾家庄村 |
专利法律状态
2021-12-21
授权
状态信息
授权
摘要
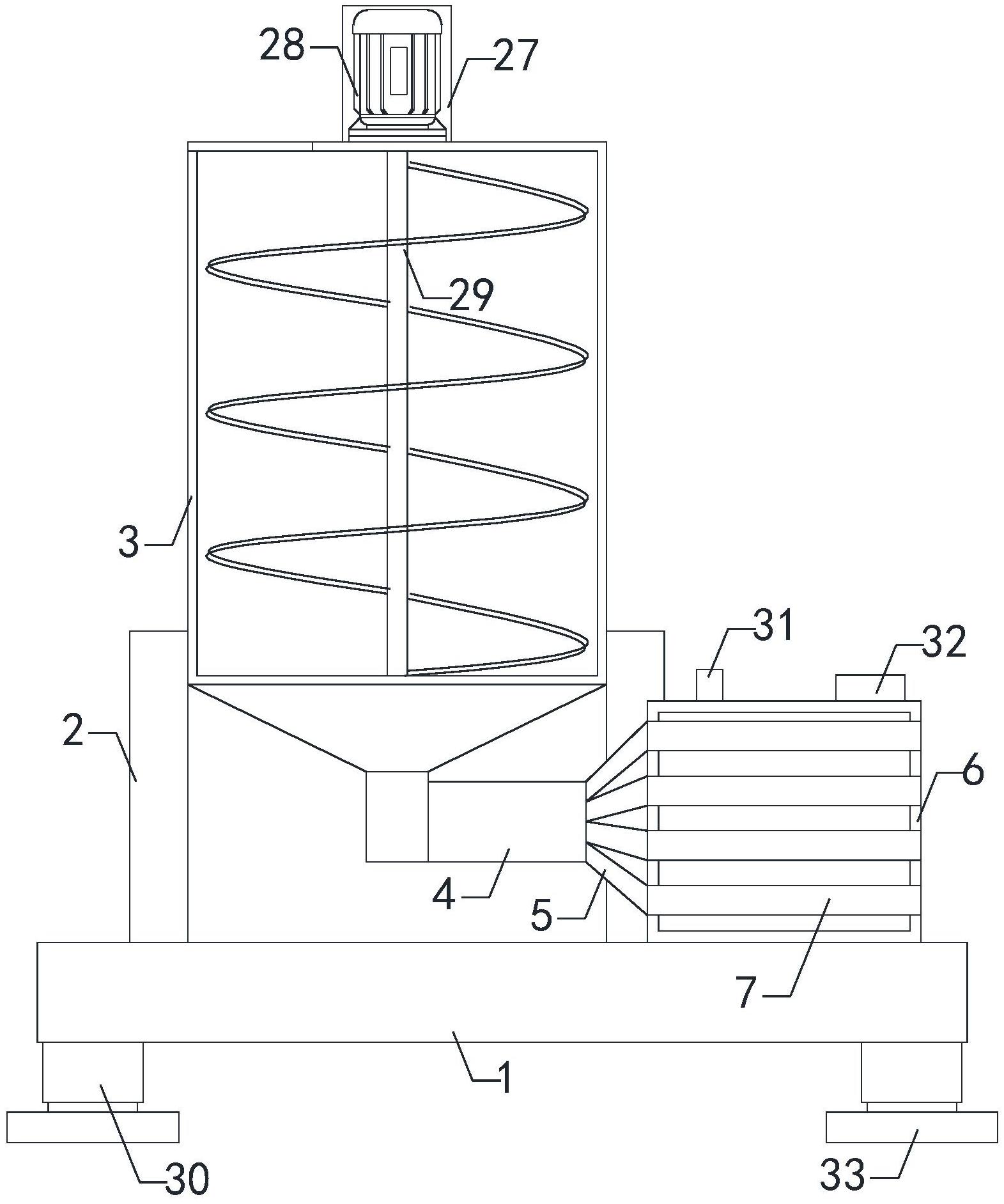
本实用新型涉及隔热条生产的技术领域,特别是涉及一种铝合金门窗隔热条的挤出模机构,其提高隔热条冷区成型速度,增加生产工作效率,提高工作稳定性,降低使用局限性;包括安装底座、支撑架、原料输送罐、控制阀、分散输送管、固定安装箱、定型模具、启动开关和输送机构,分散输送管左端与控制阀右端连通,分散输送管右侧多个输出端分别与定型模具输入端连通,输送机构输出端位于原料输送罐空腔内部;还包括拖件、水泵、第一轴承、摆动轴、固定件、喷水头、连接软管、排水阀、从动齿轮和摆动机构,水泵底端安装在安装底座顶端,摆动轴通过第一轴承转动安装在固定安装箱空腔内部,摆动机构与从动齿轮配合连接,水泵与启动开关通过导线电性连通。


