授权公布号:CN215804066U
一种带张紧功能的隔热条结构及断桥铝型材
有效
申请
2021-06-23
申请公布
1970-01-01
授权
2022-02-11
预估到期
2031-06-23
| 申请号 | CN202121411534.5 |
| 申请日 | 2021-06-23 |
| 授权公布号 | CN215804066U |
| 授权公告日 | 2022-02-11 |
| 分类号 | E06B3/263 |
| 分类 | 一般门、窗、百叶窗或卷辊遮帘;梯子; |
| 申请人名称 | 佛山市研能高新材料有限公司 |
| 申请人地址 | 广东省佛山市南海区丹灶镇国家生态工业示范园金石大道19号C栋二楼1号(住所申报) |
专利法律状态
2022-02-11
授权
状态信息
授权
摘要
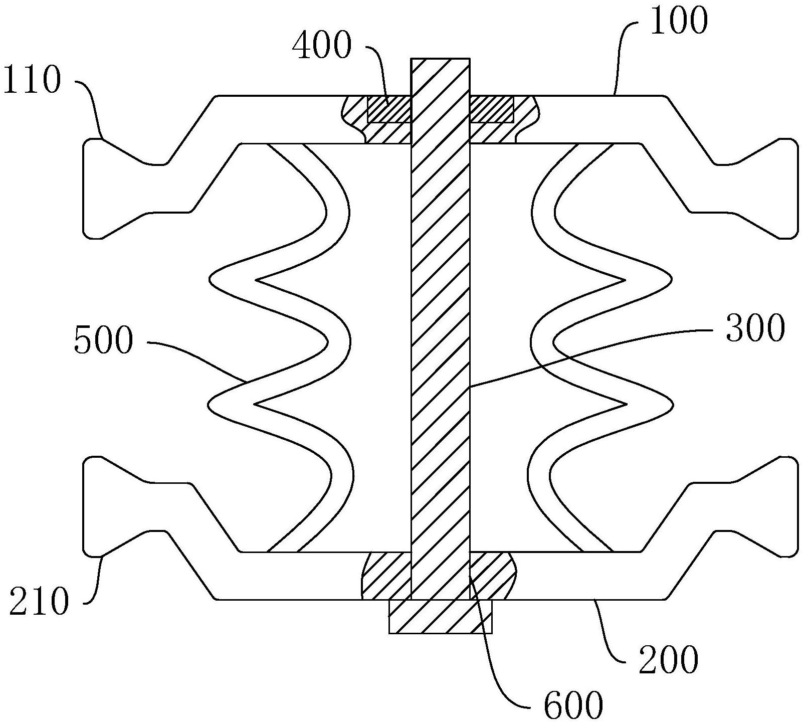
本实用新型公开了一种带张紧功能的隔热条结构及断桥铝型材,隔热条结构包括上隔热条和下隔热条、张紧调节机构,上隔热条设置有位于两个上卡接部之间的上张紧连接部,下隔热条位于两个上卡接部之间的下张紧连接部,张紧调节机构连接于下张紧连接部与上张紧连接部之间,张紧调节机构可使得下张紧连接部与上张紧连接部相互靠近或远离。一种断桥铝型材包括上述的隔热条结构,还包括分别设置于隔热条结构左右两侧的内型材体和外型材体,通过张紧调节机构使得所述下张紧连接部与上张紧连接部相互靠近或远离,令上隔热条与下隔热条之间形成张紧,提高内型材体和外型材体之间连接的牢固性,避免出现松动。


