授权公布号:CN217206034U
一种新型隔热条结构及铝合金复合型材
有效
申请
2021-06-23
申请公布
1970-01-01
授权
2022-08-16
预估到期
2031-06-23
| 申请号 | CN202121407684.9 |
| 申请日 | 2021-06-23 |
| 授权公布号 | CN217206034U |
| 授权公告日 | 2022-08-16 |
| 分类号 | E06B3/263 |
| 分类 | 一般门、窗、百叶窗或卷辊遮帘;梯子; |
| 申请人名称 | 佛山市研能高新材料有限公司 |
| 申请人地址 | 广东省佛山市南海区丹灶镇国家生态工业示范园金石大道19号C栋二楼1号(住所申报) |
专利法律状态
2022-08-16
授权
状态信息
授权
摘要
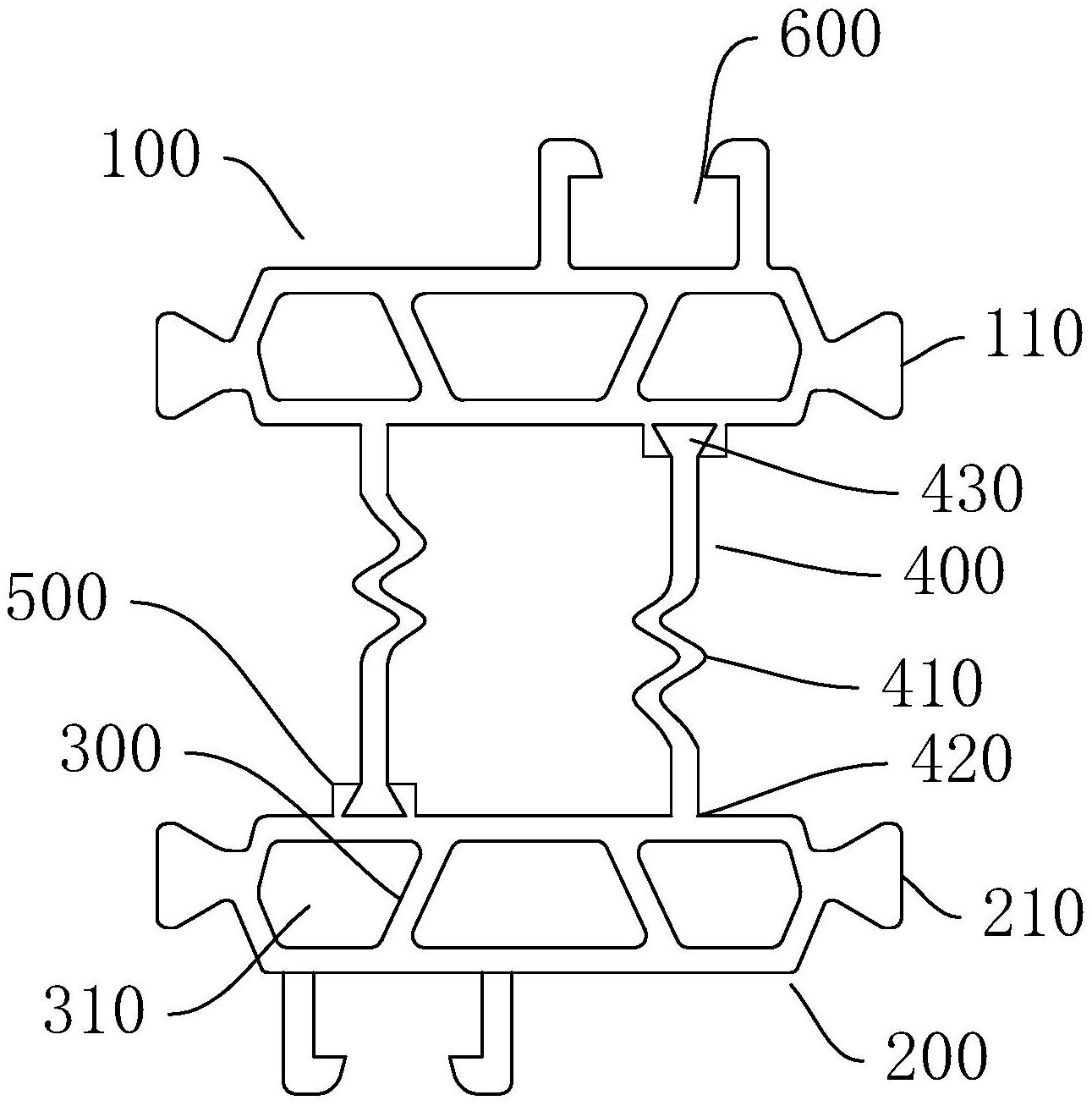
本实用新型公开了一种新型隔热条结构及铝合金复合型材,新型隔热条结构包括两个隔热条体,两个隔热条体分为呈上下设置的上隔热条体和下隔热条体,在隔热条体的内部设置有沿长度方向延伸的空腔,在空腔内设置有至少一个加强筋,加强筋将空腔分隔成至少两个隔热腔;在上隔热条体和下隔热条体之间连接有至少一条分隔条,分隔条设置有可伸缩的弹性伸缩段。铝合金复合型材包括上述的新型隔热条结构、内框型材体和外框型材体。分隔条的设置可便于上隔热条体和下隔热条体的安装,也使得上隔热条体与下隔热条体之间形成张紧,以及在内框型材体、外框型材体、上隔热条体和下隔热条体之间形成至少两个隔腔,提高隔热的效果,本实用新型适用于门窗领域。


