授权公布号:CN116105400B
一种空气源热泵用阀门组件及热泵系统
有效
申请
2023-04-13
申请公布
2023-05-12
授权
2023-06-20
预估到期
2043-04-13
| 申请号 | CN202310389050.2 |
| 申请日 | 2023-04-13 |
| 申请公布号 | CN116105400A |
| 申请公布日 | 2023-05-12 |
| 授权公布号 | CN116105400B |
| 授权公告日 | 2023-06-20 |
| 分类号 | F25B30/06;F28G13/00;F28G15/00 |
| 分类 | 制冷或冷却;加热和制冷的联合系统;热泵系统;冰的制造或储存;气体的液化或固化; |
| 申请人名称 | 江苏英泊索尔新能源有限公司 |
| 申请人地址 | 江苏省常州市新北区罗溪镇空港产业园盛达路5号 |
专利法律状态
2023-06-20
授权
状态信息
授权
2023-05-30
实质审查的生效
状态信息
实质审查的生效;IPC(主分类):F25B30/06;申请日:20230413
2023-05-12
公布
状态信息
公布
摘要
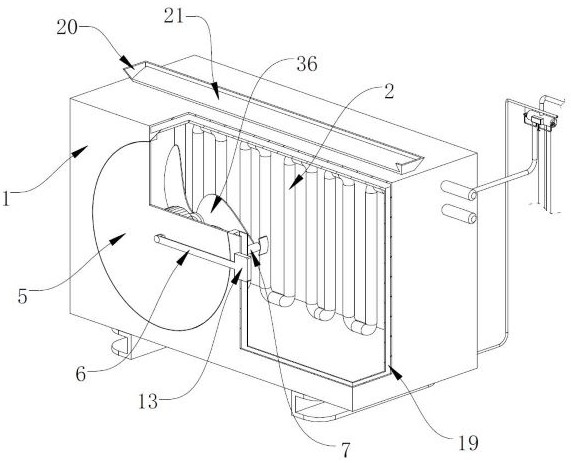
本发明属于空气源热泵技术领域,尤其涉及一种空气源热泵用阀门组件及热泵系统。该热泵系统包括压缩模块、阀门模块和换热模块,压缩模块为压缩机,用于压缩冷媒,阀门模块为四通阀,用于切换制热或制冷的状态,换热模块为换热器,换热器用于散热或吸收热量;换热器的内部设置有换热件;换热器运行工作时,双轴电机启动后会带动扇叶转动对换热器内部的换热件进行吹拂,起到散热的效果,并且在双轴电机在转动时,远离扇叶一端的随动刮条会一同转动,转动的随动刮条可以将防护网表面的附着的杂质刮除,防止防护网表面杂质越积越多影响防护网处的空气流通,进而影响换热器的散热效率。


