授权公布号:CN204163338U
一种铝合金地板结构
有效
申请
2014-08-25
申请公布
1970-01-01
授权
2015-02-18
预估到期
2024-08-25
| 申请号 | CN201420481128.X |
| 申请日 | 2014-08-25 |
| 授权公布号 | CN204163338U |
| 授权公告日 | 2015-02-18 |
| 分类号 | E04F15/06 |
| 分类 | 建筑物; |
| 申请人名称 | 肇庆菲思科金属科技有限公司 |
| 申请人地址 | 广东省佛山市南海区桂城街道灯湖西路20号保利水城6栋33铺之一33C |
专利法律状态
2016-04-20
专利申请权、专利权的转移
状态信息
专利权的转移;IPC(主分类):E04F15/06;登记生效日:20160328;变更事项:专利权人;变更前:肇庆菲思科金属科技有限公司;变更后:广东铝遊家科技有限公司;变更事项:地址;变更前:526000 广东省肇庆市高新技术产业开发区亚铝工业城自编1号;变更后:528000 广东省佛山市南海区桂城街道灯湖西路20号保利水城6栋33铺之一33C
2015-02-18
授权
状态信息
授权
摘要
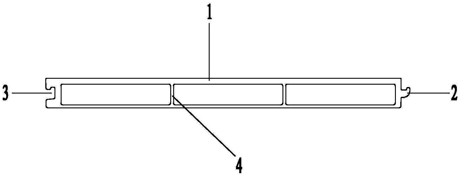
本实用新型公开一种铝合金地板结构,包括地板主体,所述地板主体的一侧壁上设置有卡勾,所述地板主体相对一侧壁上设置有卡槽,两块相邻的地板主体连接时,其中一块地板主体的卡勾卡在另一块地板主体的卡槽内。与现有技术相比,本实用新型提供的铝合金地板结构,结构牢固,使用方便,建筑成本比永久性建筑的成本低,当不再使用时,便于拆迁,而且回收后的铝合金型材可以再次利用。


