授权公布号:CN111331664B
一种超声波裁切机构
有效
申请
2019-12-24
申请公布
2020-06-26
授权
2023-08-01
预估到期
2039-12-24
| 申请号 | CN201911344904.5 |
| 申请日 | 2019-12-24 |
| 申请公布号 | CN111331664A |
| 申请公布日 | 2020-06-26 |
| 授权公布号 | CN111331664B |
| 授权公告日 | 2023-08-01 |
| 分类号 | B26D7/08 |
| 分类 | 手动切割工具;切割;切断; |
| 申请人名称 | 上海骄成超声波技术股份有限公司 |
| 申请人地址 | 上海市闵行区沧源路1488号2幢三层 |
专利法律状态
2023-08-01
授权
状态信息
授权
2021-08-03
著录事项变更
状态信息
著录事项变更;IPC(主分类):B26D7/08;变更事项:申请人;变更前:上海骄成机电设备有限公司;变更后:上海骄成超声波技术股份有限公司;变更事项:地址;变更前:200241 上海市闵行区虹梅南路4916弄48号3幢一层;变更后:200240 上海市闵行区沧源路1488号2幢三层
2021-06-08
实质审查的生效
状态信息
实质审查的生效;IPC(主分类):B26D7/08;申请日:20191224
2020-06-26
公布
状态信息
公布
摘要
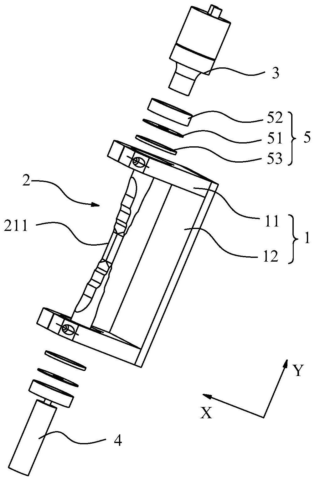
本发明涉及超声波裁切技术领域,公开了一种超声波裁切机构。所述超声波裁切机构包括支撑裁刀及换能器,所述裁刀的两端连接于所述支撑架,所述裁刀用于裁切工件;所述换能器连接于所述裁刀的一端,所述换能器能够驱动所述裁刀沿其刃口延伸的方向振动以裁切所述工件。本发明的超声波裁切技术在裁切过程中,裁刀不会在振动过程中往复向工件切口较窄的一端挤压,工件的断面与裁刀的摩擦不会因为振动而变大,从而减小工件断面的损伤,避免工件断面出现颗粒状的划伤,提高裁切的工件良率。


