授权公布号:CN215941828U
超声金属焊工具头
有效
申请
2021-09-30
申请公布
1970-01-01
授权
2022-03-04
预估到期
2031-09-30
| 申请号 | CN202122388896.3 |
| 申请日 | 2021-09-30 |
| 授权公布号 | CN215941828U |
| 授权公告日 | 2022-03-04 |
| 分类号 | B23K20/10 |
| 分类 | 机床;不包含在其他类目中的金属加工; |
| 申请人名称 | 广州市科普超声电子技术有限公司 |
| 申请人地址 | 广东省广州市天河区龙洞迎龙路260号D-3幢一楼自编龙洞工业厂房D-2幢一楼 |
专利法律状态
2022-03-04
授权
状态信息
授权
摘要
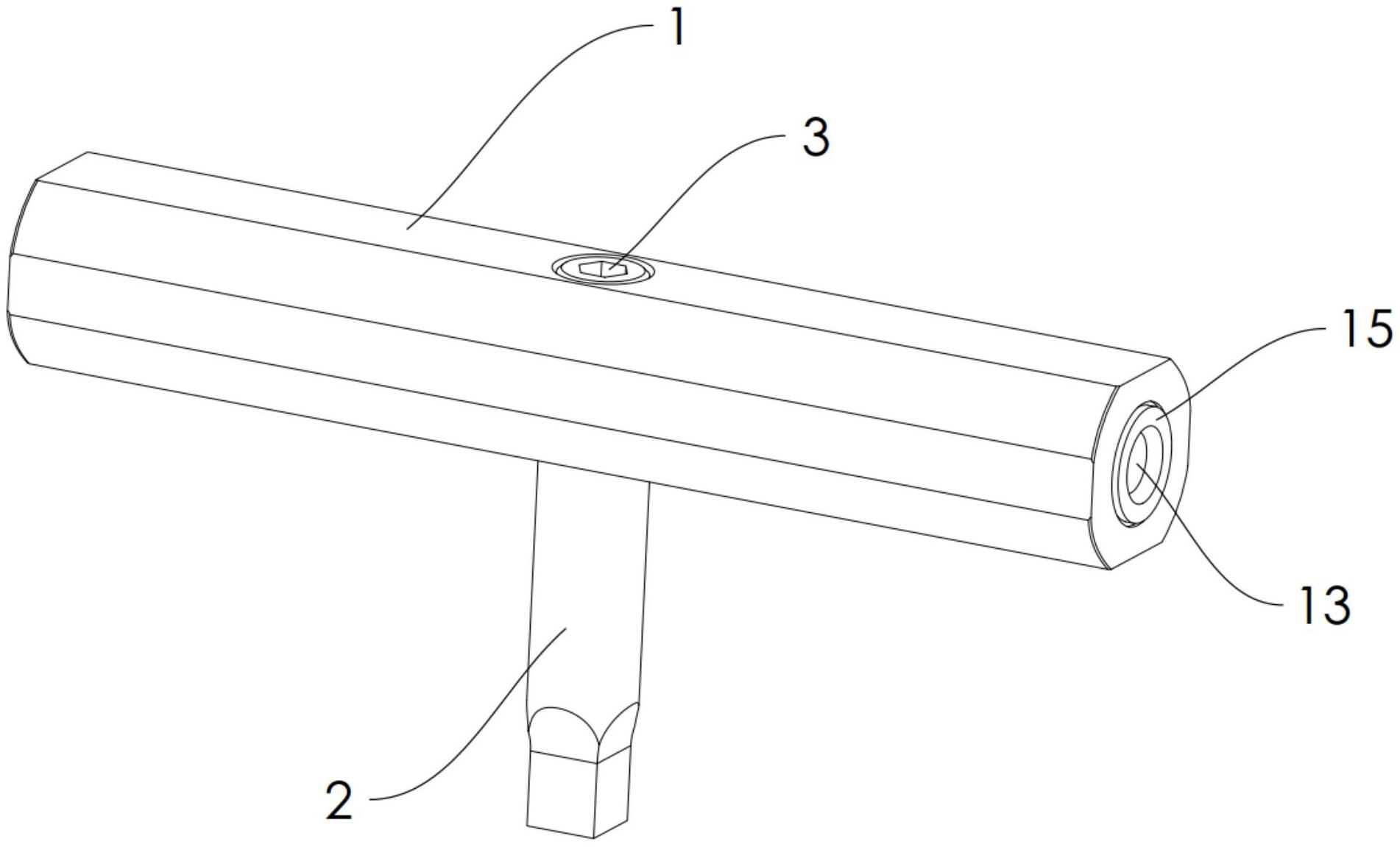
本实用新型公开一种超声金属焊工具头,包括本体及镶嵌件,所述镶嵌件的一端通过紧固件可拆卸地连接于所述本体,所述镶嵌件远离所述本体的一端设置有焊接部,所述焊接部用于焊接。在本实用新型中,镶嵌件与本体之间设置为可拆卸地连接,若焊接部出现磨损,可直接解除镶嵌件与本体之间的连接,快速更换镶嵌件即可,无需更换本体,镶嵌件与本体之间拆装方便,提高所述超声金属焊工具头的整体的使用效率,有效延长了所述超声金属焊工具头的使用寿命,并且节省成本。


