授权公布号:CN213860938U
一种盒体底部的折边成型设备
有效
申请
2020-10-20
申请公布
1970-01-01
授权
2021-08-03
预估到期
2030-10-20
| 申请号 | CN202022340552.0 |
| 申请日 | 2020-10-20 |
| 授权公布号 | CN213860938U |
| 授权公告日 | 2021-08-03 |
| 分类号 | B31B50/26 |
| 分类 | 纸品制作;纸的加工; |
| 申请人名称 | 东莞市超广智能装备有限公司 |
| 申请人地址 | 广东省东莞市石碣镇石碣同富西路55号1号楼201室 |
专利法律状态
2021-08-03
授权
状态信息
授权
摘要
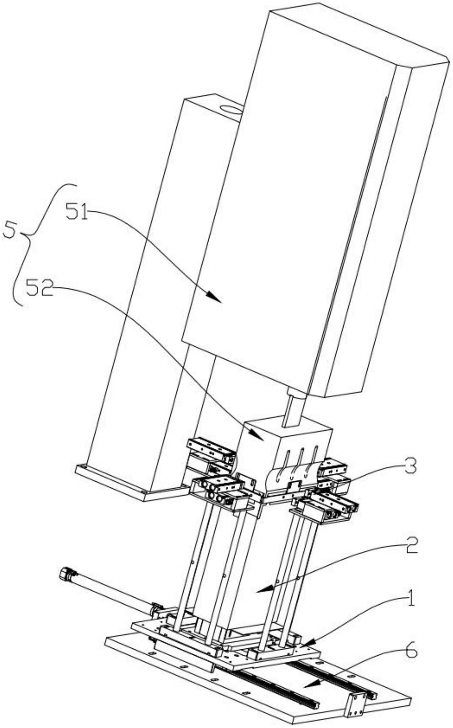
本实用新型公开一种盒体底部的折边成型设备,包括底座、用于套装盒体的支撑装置、用于对盒体的底部进行折边的折边装置、用于对折边后的盒体边缘进行固定的成型装置和工作台,支撑装置、折边装置和成型装置均设置在底座上,底座设置在工作台上,折边装置设置在支撑装置的外侧;支撑装置的两侧均设有用于承托盒体端部的承托部,且盒体的长度>支撑装置的顶端到承托部的距离。由于支撑装置的外壁设有承托部,当盒体套装在支撑装置后,盒体的开口处与承托部抵接,使得盒体及其底部处于直立状态,折边装置和成型装置分别对盒体进行折弯和成型。整体结构较为简单,自动化程度较高,提高了盒体底部折边和成型的效率。


