授权公布号:CN218749412U
一种超声波熔接机模具固定座
有效
申请
2022-11-02
申请公布
1970-01-01
授权
2023-03-28
预估到期
2032-11-02
| 申请号 | CN202222915151.2 |
| 申请日 | 2022-11-02 |
| 授权公布号 | CN218749412U |
| 授权公告日 | 2023-03-28 |
| 分类号 | B29C65/78;B29C65/08 |
| 分类 | 塑料的加工;一般处于塑性状态物质的加工; |
| 申请人名称 | 深圳市德诺好和科技有限公司 |
| 申请人地址 | 广东省深圳市宝安区燕罗街道洪桥头社区下围水工业区13栋701 |
专利法律状态
2023-03-28
授权
状态信息
授权
摘要
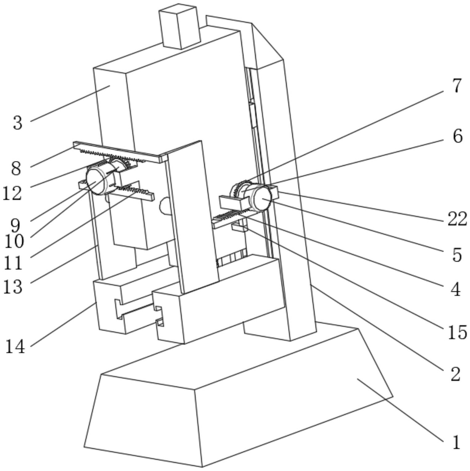
本实用新型涉及塑料熔接设备技术领域,且公开了一种超声波熔接机模具固定座,包括升降块,所述升降块的前端转动连接有第二从动杆,所述第二从动杆的一端固定安装有第二电机,所述第二从动杆的外表面固定连接有第二齿轮,所述第二齿轮的表面啮合有第二齿板和第三齿板。该超声波熔接机模具固定座,对模具进行固定时,通过第二电机的运作带动第三齿板和第二齿轮进行转动,使得与第二齿轮表面啮合的第二齿板和第二从动杆进行水平移动,该结构的设置,能够有效避免了不同尺寸模具不易固定的问题,可以达到固定不同尺寸的模具的效果,同时,降低了工作人员的劳动强度,缩短了更换模具所需的时间,在实际使用中提高了相应的工作效率。


